2025 Vol. 23, No. 9

General Practice Forum
The development status and optimization suggestions of family doctor contract services in Beijing based on policy framework
XU Chao, ZHAO Yali, CHANG Yi
2025, 23(9): 1449-1453. doi: 10.16766/j.cnki.issn.1674-4152.004153
574 16
Abstract:
Against the backdrop of deepening medical reform, family doctor contract services have become a crucial means to promote hierarchical medical treatment. In 2016, China fully launched family doctor services, and subsequent policies have steadily enhanced service quality and expanded coverage. The development of family doctor services in Beijing has progressed through three stages: exploration, comprehensive promotion, and in-depth advancement, gradually improving the service model. At present, Beijing has established a financing mechanism supported by government, medical insurance, and individual contributions. Medical insurance offers preferential policies for contracted residents, while tertiary hospitals provide resource support to primary healthcare institutions. A four-level management model has been implemented, continuously enriching service content. By the end of 2024, there were 6 000 family doctor teams, with a contract rate exceeding 40%, supported by a performance-based assessment and incentive system. However, several policy limitations in Beijing' s family doctor contract services remain, including insufficient guidance and constraints under the health insurance policy for residents to engage in contracting, ambiguous hierarchical diagnosis and treatment pathways mentioned in the policy related to family doctor contract services, unclear delineation of the service contents of different levels of healthcare institutions at this stage, absence of a unified citywide information platform covering all major healthcare service institutions, lack of clear basis or inflexibility in charging fees for additional family doctor contract services, and shortcomings in the assessment and incentive mechanisms for doctors. To address these challenges, we recommend: (1) Strengthening the guiding and restraining role of medical insurance and related policies, making contracting a prerequisite for access to new preferential policies; (2) Establishing clear rules for hierarchical diagnosis and treatment to clarify the duties and obligations of all parties, and removing technical and information system barriers between institutions; and (3) Optimizing incentives and pricing mechanisms, strengthening policy coordination, so as to promote the high-quality development of family doctor contract services.
Guidelines and Consensus
Expert consensus on the whole-course management in patients with arteriosclerotic cardiovascular disease in county-level medical consortium(2025)
The County Chronic Disease Health Management Branch of China Health Promotion and Education Association, Institute for Healthy China of Tsinghua University, the County Chronic Disease Health Management Institute of Wenzhou Medical University
2025, 23(9): 1454-1460. doi: 10.16766/j.cnki.issn.1674-4152.004154
609 18
Abstract:
With accelerated population aging and widespread arteriosclerotic cardiovascular risk factors, the incidence and prevalence of cardiovascular diseases in China have continued to rise. Cardiovascular diseases remain the leading cause of death among urban and rural residents in China, with the economic burden of atherosclerotic cardiovascular disease (ASCVD) increasing steadily. The ASCVD in the county area is faced with the dual challenge of high incidence rate and low management rate, and cardiovascular mortality rate in rural areas consistently exceeds that in urban areas. Promoting the construction of county-level medical communities is a key strategy to enhance the primary healthcare capacity, optimize the allocation of medical resources, and promote high-quality development of hospitals. In order to help the county-level medical consortium to establish a comprehensive cardiovascular disease whole-course management system, enhance service capacity and management efficiency for ASCVD in county areas, improve continuity of medical services, and improve patients medical experience, the County Chronic Disease Health Management Branch of China Health Promotion and Education Association, Institute for Healthy China of Tsinghua University, and The County Chronic Disease Health Management Institute of Wenzhou Medical University formulated expert recommendations based on the current clinical evidence, clinical practical experience and innovative management practice. This consensus addresses 12 key issues related to the whole-course management system of ASCVD within county-level medical consortium. This consensus includes service venue planning, configuration of software and hardware, establishment of service processes and standards, staffing allocation, design of service content, requirements and training for service personnel' s capabilities, and quality and efficiency management of services. The consensus highlights the value of management system construction, emphasizes practical guidance based on scientific principles, promoting the hierarchical diagnosis and treatment model featuring top-down linkage, integrating general and specialized services, and enhancing the management capabilities and continuity of ASCVD services at the county level.
Special Topic/Research on Frailty of the Elderly
Research on the factors influencing multidimensional frailty among the comorbid elderly based on health ecology model
ZHAO Linlin, CHANG Bingjie, HU Qinghua, DU Juan, SHAO Shuang
2025, 23(9): 1461-1465. doi: 10.16766/j.cnki.issn.1674-4152.004155
483 12
Abstract:
  Objective  The study aimed to explore the factors influencing multidimensional frailty in the comorbid elderly from an integrated perspective.  Methods  The stratified cluster sampling method was used to recruit comorbid elderly patients from four community health centers in urban Beijing. Logistic regression analyses were performed based on the health ecology model, using the presence or absence of multidimensional, physical, psychological, and social frailty as the respective dependent variables.  Results  Of the 919 comorbid participants, the prevalence rates of physical, psychological, social, and multidimensional frailty were 33.62% (309 cases), 47.66% (438 cases), 16.43% (151 cases), and 42.55% (391 cases), respectively. The results of the multifactorial analysis showed that the advanced age, greater number of comorbidities, multiple medication types, sedentary time, health empowerment, family caring, and social participation are factors influencing multidimensional frailty in comorbid elderly. The number of comorbidities≥4 was a risk factor for physical frailty. Family caring was a co-protective factor for physical-psycho-social frailty. Health empowerment was a protective factor against both physical and psychological frailty, while social participation was a protective factor against physical frailty.  Conclusion  Individual behavioral characteristics, family caring, and social participation exert different degrees of influence on the multidimensional frailty in comorbid elderly.
Advances in multidimensional frailty assessment research in community-dwelling older adults
YANG Lin, SHU Jing, LI Mengying, CAO Lizhen
2025, 23(9): 1466-1469. doi: 10.16766/j.cnki.issn.1674-4152.004156
508 6
Abstract:
As aging deepens, frailty, as a dynamic and reversible state of healthy aging and disability, has become an important topic affecting clinical practice and public health. As research has progressed and deepened, the academic perception of frailty has gradually expanded from a single somatic dimension to an integration of psychological, social, and somatic dimensions. Studies have shown that assessing frailty in community-dwelling older adults can predict adverse health outcomes such as decreased quality of life, disability, and death, and that timely assessment and intervention of frailty in older adults can positively respond to population aging. As a key component of health management for older adults, home-based community care has unique advantages in early identification and intervention of frailty, which can help to slow down or even reverse the process of frailty in older adults and reduce the occurrence of adverse outcomes. Medical personnel can provide comprehensive health services from multiple dimensions, including physical, psychological, and social, according to the outcome of frailty assessment. Current clinical practice relies on multidimensional frailty assessment tools to support individualized care plans, but the following problems still exist in this area: (1) the concept of frailty is widely used, but no agreement has been reached at home and abroad on a standardized assessment tool for multidimensional frailty, and there are differences in the reliability, applicability scenarios, and cultural adaptability of the existing assessment tools; (2) most of the early scales lacked frailty grading and cognitive screening modules, and the later improved versions expanded the dimensions, but the complexity of the entries limited their wide application; (3) the domestic studies were mainly based on the importation of Chinese language tools, and there is a lack of localized and original tools, which is in urgent need of improvement. This article reviews the content, dimensions, reliability, strengths, and weaknesses of widely used multidimensional frailty assessment tools for community-dwelling older adults, with the aim of providing a reference for domestic healthcare professionals in identifying early-stage frailty, improving poor outcomes, and developing personalized care.
A longitudinal study on the trajectory of frailty and its influencing factors in elderly patients with gynecological malignancies
YU Shuju, ZHANG Chaonan, TENG Zhimin
2025, 23(9): 1470-1474. doi: 10.16766/j.cnki.issn.1674-4152.004157
395 5
Abstract:
  Objective  To explore the changes in frailty levels among patients diagnosed with gynecological malignancies by following up and provide a valuable reference point for the clinical management of frailty.  Methods  A total of 223 gynecological malignancies patients were collected from the First Affiliated Hospital of Wenzhou Medical University between November 2022 and April 2024, through the utilization of convenience sampling. Demographic data, frailty, nutritional status and depression assessment was conducted on the 1st or 2nd day following hospitalization (T0). At one month (T1), three months (T2) and six months (T3) after T0, patients were re-evaluated for frailty through outpatient or inpatient visits.  Results  The incidence of frailty at the four respective time points was found to be 33.2% (74/223), 35.0% (78/223), 36.3% (81/223) and 31.8% (71/223), respectively. It is possible to categorize the data into four potential trajectory categories: "low level frailty-stable group" (24.2%), "low level frailty-first rise then decline group" (4.9%), "moderate level frailty-slow decline group" (39.9%), and "moderate level frailty e-slow rise group" (30.9%). Religious beliefs, the number of chronic diseases comorbidity, nutritional status and depressive symptoms were the influencing factors of potential trajectory categories of frailty changes.  Conclusion  Health workers should judge the trajectory of the patient' s decline as early as possible, fully respect for patients' beliefs, guidance towards positive changes in life and behavior, regularly conduct psychological and nutritional assessments and interventions, and manage comorbidities is also crucial to prevent the continuous progression of frailty.
General Practice Research
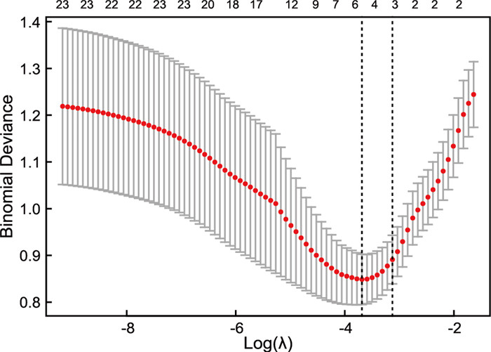
Development and validation of a nomogram for predicting thalamic pain occurrence after spontaneous thalamic hemorrhage
ZHANG Xi, YANG Hongge, FENG Yuyang, JIANG Wang, ZHANG Xiangtong, LIANG Hongsheng
2025, 23(9): 1475-1479. doi: 10.16766/j.cnki.issn.1674-4152.004158
388 5
Abstract:
  Objective  The occurrence of thalamic pain significantly impacts patients' quality of life. Early identification of patients at risk for developing thalamic pain can facilitate timely clinical interventions and decision-making to alleviate patient suffering. This study aims to develop and validate a nomogram model to predict the occurrence of thalamic pain following spontaneous thalamic hemorrhage.  Methods  A total of 294 patients with spontaneous thalamic hemorrhage were retrospectively included from the First Affiliated Hospital of Harbin Medical University between June 2021 and December 2022. Patients were randomly assigned to the training cohort (n=206) and internal validation cohort (n=88) in a 7∶3 ratio using computer-generated random numbers, with the training cohort used for model development and the internal validation cohort for validation. Feature variables most suitable for model construction were selected using the least absolute shrinkage and selection operator (LASSO) algorithm. Subsequently, the selected features were incorporated into a multivariable logistic regression model to develop the nomogram. The performance of the model was assessed in the training and internal validation cohorts using the area under the receiver operating characteristic curve, and decision curve analysis.  Results  A total of 294 patients were included in this study, of whom 94 cases (31.97%) developed thalamic pain, while 200 cases (68.03%) did not. The LASSO-logistic regression analysis in the training cohort identified two independent predictive factors: hematoma location (P < 0.001) and modified Graeb score (mGS) score (P < 0.001). These predictors were incorporated into the nomogram prediction model. ROC curve analysis demonstrated high predictive performance of the nomogram model (training cohort AUC: 0.890; internal validation cohort AUC: 0.820). Decision curve analyses further indicated that the model has strong predictive ability for the occurrence of thalamic pain following spontaneous thalamic hemorrhage.  Conclusion  This study develops a nomogram model to assess the risk of thalamic pain in individual patients following spontaneous thalamic hemorrhage, demonstrating excellent predictive performance. The model provides clinicians with a practical tool to guide treatment decisions for high-risk patients.
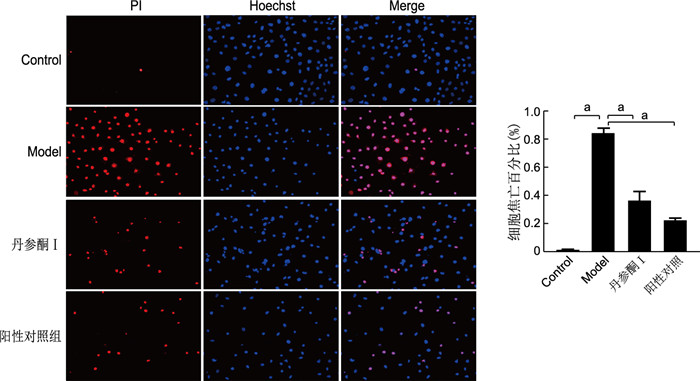
The mechanistic study of tanshinone Ⅰ Regulating non-canonical pyroptosis pathway in macrophages
ZHENG Yihao, CHEN Yue, ZHAO Kaidi, YANG Yu, MA Chongyang, ZHANG Qiuyun
2025, 23(9): 1480-1483. doi: 10.16766/j.cnki.issn.1674-4152.004159
318 6
Abstract:
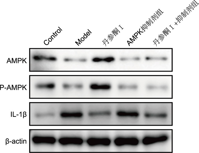
  Objective  To investigate the inhibitory effect and mechanism of Tanshinone Ⅰ on non-canonical pyroptosis in LPS-induced murine macrophage J774.1 cells.  Methods  A non-canonical pyroptosis model was induced in J774.1 cells by LPS transfection using Lipofecter. Cells were treated with various concentrations of Tanshinone Ⅰ, and 40 μmol/L was selected for subsequent experiments based on cytotoxicity screening. LDH release assay was used to assess cell toxicity. The expression levels of Caspase-11, GSDMD-N, NLRP3, cleaved-Caspase-1, and IL-1β were evaluated by qPCR and Western blot. Pyroptotic cells were observed by immunofluorescence. To explore the signaling pathway, the AMPK inhibitor dorsomorphin was co-administered with Tanshinone Ⅰ.  Results  Tanshinone Ⅰ at a concentration of 40 μmol/L showed no significant toxicity to J774.1 cells (P>0.05). After treatment, cell toxicity decreased from (29.540±2.123) % to (5.887±1.219) % (P=0.018). Compared with the model group, Tanshinone Ⅰ significantly inhibited the expression of Caspase-11, GSDMD-N, NLRP3, Caspase-1, cleaved-Caspase-1, and IL-1β (P < 0.05), and reduced the proportion of pyroptotic cells, indicating its ability to suppress non-canonical pyroptosis. Additionally, Tanshinone Ⅰ upregulated p-AMPK expression, whereas the AMPK inhibitor dorsomorphin reversed this effect, suggesting that its protective role may be mediated through activation of the AMPK pathway.  Conclusion  Tanshinone Ⅰ can inhibit LPS-induced non-canonical pyroptosis in J774.1 cells by activating the AMPK pathway, thereby alleviating inflammatory responses and exerting anti-inflammatory and cytoprotective effects.
Association between the ratio of non-high-density lipoprotein cholesterol to high-density lipoprotein cholesterol ratio and severe intracranial/extracranial atherosclerotic stenosis
CHEN Ling, LYU Daping, YAO Ming, WANG Yongquan, WANG Ling
2025, 23(9): 1484-1487. doi: 10.16766/j.cnki.issn.1674-4152.004160
326 5
Abstract:
  Objective  To investigate the correlation between the non-high-density lipoprotein cholesterol to high-density lipoprotein cholesterol ratio (NHHR) and severe atherosclerotic stenosis of intracranial/extracranial arteries. The study also seeks to provide a basis for the early screening of high-risk populations with severe intracranial/extracranial artery stenosis.  Methods  The present study is based on a cohort of 286 patients who underwent DSA examination in the Department of Neurology of the North District of the First Affiliated Hospital of Anhui Medical University from September 2018 to December 2024. The subjects were divided into two groups, namely the severe stenosis group (stenosis≥70% or occlusion, 197 cases) and the non-severe stenosis group (no stenosis or stenosis < 70%, 89 cases), according to the degree of stenosis. Clinical data and lipid profiles (total cholesterol and high-density lipoprotein cholesterol) were collected, and the NHHR was calculated. Multivariate logistic regression analysis was utilized to assess the independent association between NHHR and severe stenosis. Restricted cubic splines were used to analyze the nonlinear relationship between NHHR and the risk of stenosis. A stratified analysis was conducted in order to test the heterogeneity of the association.  Results  NHHR has been identified as an independent risk factor for severe atherosclerotic stenosis in intracranial and extracranial arteries (OR=1.141, P < 0.05). Subgroup analysis demonstrated consistent associations across different populations, with notably stronger effects observed in individuals aged 58-69 years (OR=1.474) and in patients with concurrent stenosis of both intracranial and extracranial arteries (OR=10.122, P < 0.05).  Conclusion  NHHR serves as a valuable indicator for predicting or evaluating severe atherosclerotic stenosis, particularly in the 58-69 age group and patients with concurrent stenosis of both intracranial and extracranial arteries.
Correlation between serum BDNF and RBP4 levels and depressive severity in patients with co-morbid depression and metabolic syndrome
LI Siqing, LIANG Bing, TIAN Peiran, JIN Guoxi, JIANG Shuhong
2025, 23(9): 1488-1491. doi: 10.16766/j.cnki.issn.1674-4152.004161
334 2
Abstract:
  Objective  To investigate the relationship between serum levels of brain-derived neurotrophic factor (BDNF) and retinol binding protein 4 (RBP4) and the degree of depression in patients with metabolic syndrome (MS) co-morbid with major depressive disorder (MDD), as well as its diagnostic value. In order to provide a new theoretical basis for the prevention, diagnosis and treatment of MS comorbidities with MDD.  Methods  A total of 166 MS patients admitted to the First Affiliated Hospital of Bengbu Medical University from October 2023 to July 2024 were selected and divided into MS co-morbid MDD group (observation group, 114 cases) and MS group (control group, 52 cases) according to the presence or absence of co-morbid depressive disorder; 70 healthy people who had medical checkups in our hospital during the same period were selected and set up as the healthy group. In the MS co-morbid MDD group, they were divided into three subgroups according to the degree of depression: mild (n=53), moderate (n=39) and severe (n=22). The correlation between the serum BDNF and RBP4 levels and the HAMD score of MS patients with co-morbid MDD, and the diagnostic value of the two for MS co-morbid MDD were analyzed.  Results  The serum BDNF and RBP4 levels in the control and healthy groups were lower than those in the observation group, and the difference was statistical significance (P < 0.05). Comparison among the three subgroups: serum BDNF and RBP4 levels were higher in the mildly depressed and moderately depressed groups than those in the severely depressed group, and the difference was statistical significance (P < 0.05). Regression analysis showed that BDNF and RBP4 were protective factors for MS co-morbid of MDD (P < 0.05). ROC curves showed that the cut-off values of serum BDNF and RBP4 in patients of the observation group were 254.80 pg/mL and 37.50 mg/L, respectively, with a sensitivity of 85.96% and 61.40%, a specificity of 78.85%, and an area under the curve of 0.863 and 0.736, and the sensitivity of the combination of the two was 77.19%, the specificity was 84.62%, and the area under the curve was 0.887.  Conclusion  Detection of serum BDNF and RBP4 is valuable in diagnosing MDD in MS.
Potential profile analysis of health literacy in diabetic periodontitis patients and its correlation with treatment compliance
HE Ruanhui, LIN Jian, ZHU Yesu, WANG Huimin, LIN Ziyan
2025, 23(9): 1492-1495. doi: 10.16766/j.cnki.issn.1674-4152.004162
380 3
Abstract:
  Objective  To conduct a latent profile analysis of the health literacy of diabetic periodontitis patients, deeply explore and identify different potential categories of patients ' health literacy, analyze the correlation between different potential categories and treatment compliance, in order to provide a basis for the development of targeted health education strategies and improve treatment compliance.  Methods  A total of 108 patients with diabetic periodontitis treated from January 2023 to June 2024 were selected as the study subjects. General data, health literacy scale, and treatment compliance scale were collected. A subgroup model of health literacy was established based on latent profile analysis. Multi-classification logistic regression model was used to analyze the factors influencing health literacy subtyping, and to analyze the correlation between health literacy and treatment adherence in patients with diabetic periodontitis.  Results  The recovery rate of valid questionnaires was 94.44% (102/108). The total score of health literacy in patients with diabetic periodontitis was (12.66±1.32). Latent profile analysis showed that a three-class model best fit the data: "universal low literacy group" accounting for 23.53% (24/102), "moderate literacy-high-judged thinking group" accounting for 47.06% (48/102), and "high-literacy-high information acquisition group" accounting for 29.41% (30/102). The number education years, age, and proportion of polypharmacy showed significant differences among the three groups (P < 0.05). Multiple logistic regression analysis showed that age and education years were independent factors influencing health literacy in diabetic periodontitis patients (P < 0.05). There was a statistically significant difference in treatment compliance among the three groups (P < 0.001).  Conclusion  The health literacy of diabetic periodontitis patients shows clear classification characteristics, influenced primarily by age and education years. Treatment compliance varies significantly across literacy categories. Personalized intervention programs based on the health literacy profiles may improve adherence in diabetic periodontitis patients.
Prognostic value of IL-33 expression in alveolar lavage fluid for predicting 28-day mortality in elderly patients with severe pneumonia
ZHAO Shasha, WANG Pengwei, WANG Yuanyuan, FENG Xianjun
2025, 23(9): 1496-1498. doi: 10.16766/j.cnki.issn.1674-4152.004163
311 3
Abstract:
  Objective  Previous studies had shown a close association between the inflammatory status of severe pneumonia and serum interleukin 33 (IL-33) levels. However, the prognostic significance of IL-33 levels in alveolar lavage fluid was still unclear. This study aimed to investigate the relationship between expression levels of IL-33 in alveolar lavage fluid and 28-day mortality in elderly patients with severe pneumonia and its prognosis.  Methods  A total of 160 elderly patients with severe pneumonia admitted to the Respiratory ICU of the First Affiliated Hospital of Xinxiang Medical University between January 2021 and December 2023 were enrolled. Based on 28-day survival status, patients were divided into a survival group (n=117) and a death group (n=43). The clinical data of all individuals were collected, and the expression levels of IL-33 in alveolar lavage fluid were analyzed by ELISA methods. Pearson method was used to analyze the correlation between IL-33 levels and acute physiology and chronic health evaluation-Ⅱ score (APACHE Ⅱ) of elderly patients with severe pneumonia. The clinical efficacy of IL-33 levels in predicting 28-day mortality in elderly patients with severe pneumonia was analyzed by ROC curve.  Results  Compared with the survival group, the levels of leukocytes, neutrophils, hypersensitive C-reactive protein, procalcitonin, and APACHE Ⅱ in the death group were significantly increased than in the survival group, respectively (P < 0.05). The expression level of IL-33 in alveolar lavage fluid in the death group was significantly higher than that in the survival group (P < 0.001). The expression level of IL-33 in alveolar lavage fluid of elderly patients with severe pneumonia was positive correlated with APACHE Ⅱ score (r=0.671, P < 0.001). The procalcitonin and IL-33 in alveolar lavage fluid were identified as independent risk factors for 28-day treatment for severe pneumonia. The expression level of IL-33 in alveolar lavage fluid of elderly patients with severe pneumonia had a significant clinical efficacy in predicting 28-day mortality, with sensitivity and specificity of 89.45% and 90.82%, respectively.  Conclusion  The expression level of IL-33 in alveolar lavage fluid was significantly increased in elderly patients with severe pneumonia. IL-33 may serve as a biomarker for predicting 28-day mortality in this population.
Risk prediction model construction of concurrent sarcopenia in lung cancer patients
ZHANG Haonan, HAN Yuanfeng, XIA Liuqin, YE Weiguo
2025, 23(9): 1499-1501. doi: 10.16766/j.cnki.issn.1674-4152.004164
363 7
Abstract:
  Objective  To explore the factors influencing sarcopenia in patients with lung cancer, develop a risk prediction model, and provide reference for preventing or delaying the progress of sarcopenia.  Methods  From January 2023 to October 2024, 285 patients with lung cancer at Hangzhou First People ' s Hospital were selected as the research objects. Data were collected using a general information questionnaire, improved version of sarcopenia questionnaire, mini-simple nutrition assessment form, and international physical activity questionnaire. According to the diagnosis results of sarcopenia, the patients were divided into a sarcopenia group (119 cases) and a non-sarcopenia group (166 cases). The factors influencing sarcopenia in lung cancer patients were analyzed by univariate and multivariate logistic regression, and the risk prediction model of sarcopenia was established by using R software.  Results  The incidence of sarcopenia was 41.75% (119/285). The proportion of age≥60 years old, female sex, BMI < 24.0, smoking history, diabetes, sleep duration < 6 hours, malnutrition, and low level of physical activity in the sarcopenia group was higher than those in the non-sarcopenia group (P < 0.05), respectively. Charson comorbidity index score was higher than that of the non-sarcopenia group (P < 0.05). Logistic regression analysis showed that age, smoking history, Charson comorbidity index, nutritional status, and physical activity level were the factors influencing sarcopenia in lung cancer patients (P < 0.05). The area under receiver operating characteristic curve (ROC) was 0.922 (95% CI: 0.897-0.951), and the goodness of fit test showed good model fit (χ2=1.178, P=0.556).  Conclusion  The developed risk prediction model demonstrates high accuracy and clinical utility for early identification of sarcopenia in lung cancer patients, enabling targeted prevention and management strategies.
Mendelian randomization study on the causal relationship between gut microbiome and two types of purpura diseases
LI Wenhao, JIA Guangzhi, ZHANG Ya, ZHANG Wei
2025, 23(9): 1502-1506. doi: 10.16766/j.cnki.issn.1674-4152.004165
408 3
Abstract:
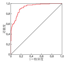
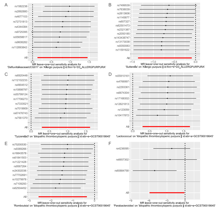
  Objective  To analyze the causal relationship between intestinal flora and Henoch-Schönlein purpura (HSP) and idiopathic thrombocytopenic purpura (ITP) by means of Mendelian randomization (MR).  Methods  The published genome-wide association study database was utilized to obtain the HSP/ITP data set of exposure factor intestinal flora and outcome variables. Inverse variance weighting (IVW), MR Egger, weighted median, simple mode and weighted mode were utilized for MR Analysis. The OR value was utilized to evaluate the causal relationship between intestinal flora and HSP/ITP, and sensitivity analysis, including Cochran ' s Q test and the MR Egger intercept test was conducted to evaluate the robustness of the results.  Results  The IVW analysis demonstrated that DefluviitaleaceaeUCG011 (OR=2.211, 95% CI: 1.138-4.296, P=0.019) was associated with an elevated risk of HSP. Sutterella (OR=0.483, 95% CI: 0.256-0.914, P=0.025) was associated with a reduced the risk of HSP. Lactococcus (OR=2.684, 95% CI: 1.335-5.397, P=0.006) and Tyzzerella3 (OR=2.602, 95% CI: 1.344-5.038, P=0.005) were found to be significant risk factors for ITP. Romboutsia (OR=0.232, 95% CI: 0.077-0.704, P=0.010) and Parabacteroides (OR=0.050, 95% CI: 0.003-0.898, P=0.042) have been shown to reduce the risk of ITP.  Conclusion  The present study hypothesizes that there is a causal relationship between the gut microbiome and the risk of HSP/ITP, and modulating the gut microbiome may be beneficial in the prevention and treatment of HSP/ITP.
General Clinical Research
Relationship among TCM constitution and psychological resilience, life quality of breast cancer patients after surgery
LI Qing, ZHANG Chunbin, WANG Mei, CHENG Tingting, GUO Kangping, PAN Long, ZHOU Yu, TONG Zongpei
2025, 23(9): 1507-1511. doi: 10.16766/j.cnki.issn.1674-4152.004166
372 2
Abstract:
  Objective  To study the relationship among traditional Chinese medicine (TCM) constitution and psychological resilience, life quality of patients with breast cancer after surgery, so as to provide basis for adjusting TCM constitution, improving their psychological resilience and quality of life.  Methods  A total of 150 patients with breast cancer who received surgical treatment in Chuzhou Hospital of Integrated Traditional Chinese and Western Medicine from January 2021 to April 2024 were randomly selected. The TCM constitution, psychological resilience and quality of life were evaluated, and their correlation was studied by Spearman rank correlation.  Results  (1) TCM constitution of 150 patients with breast cancer after surgery was mainly gentleness, Qi stagnation, Yang deficiency and Qi deficiency, accounting for 22.00% (33 cases), 18.67% (28 cases), 18.00% (27 cases)and 12.00% (18 cases), respectively; (2) The proportion of Qi stagnation in patients with invasive tumor and clinical stage Ⅳ was higher than that of other constitutions, and the proportion of Yang deficiency in patients with tumor metastasis was higher than that of other constitutions (P < 0.05); (3) The scores of psychological resilience and quality of life of patients with gentleness constitution were higher than other patients (P < 0.05); (4) Gentleness constitution was positively correlated with psychological resilience and quality of life of patients (P < 0.05). Qi stagnation, Yang deficiency and Qi deficiency were negatively correlated with psychological resilience and quality of life (P < 0.05); (5) The depth of tumor invasion, clinical stage and tumor metastasis in breast cancer patients were related factors affecting TCM constitution (P < 0.05).  Conclusion  The common TCM constitution of breast cancer patients after surgery is gentleness, Qi stagnation, Yang deficiency and Qi deficiency, which are affected by tumor type, clinical stage and tumor metastasis, and their TCM constitution is correlated with postoperative psychological resilience and quality of life.
Clinical study of Tricobacterium bifidum capsule combined with escitalopram oxalate in the treatment of adult first episode depression
LI Weiwei, WANG Lu, PAN Yourang, CHEN Jing
2025, 23(9): 1512-1515. doi: 10.16766/j.cnki.issn.1674-4152.004167
508 5
Abstract:
  Objective  The microbial-gut-brain axis (MGB) theory provides a new perspective for the treatment of depression. This study was to investigate the effect of living bacteria capsule of Tricobacterium bifidum combined with commonly used antidepressants in the treatment of adult first-episode depression.  Methods  A total of 126 adult patients with first-episode depression admitted to the Department of Psychosomatic Medicine of Shaoxing Seventh People ' s Hospital from April 2023 to October 2024 were randomly divided into a control group (escitalopram oxalate alone) and a study group (Tricobacterium bifidum live capsules combined with escitalopram oxalate) for 12 weeks (n=63 each). The score and reduction rate of Hamilton depression-17 (HAMD-17) scale, intestinal flora detection in fresh stool, relevant biochemical indicators [interleukin-6 (IL-6), 5-hydroxytryptamine (5-HT)], clinical efficacy, and treatment safety were compared.  Results  Fifty-eight cases in the control group and 60 cases in the study group completed the study. The HAMD-17 scores decreased significantly in both groups at 4, 8, and 12 weeks (P < 0.05). The HAMD-17 scores of the study group at 8 and 12 weeks were lower than those of the control group (P < 0.05). The reduction rate of HAMD-17 was higher in the study group [(53.93±5.81)% vs. (36.69±5.17)%, t=17.042, P < 0.05] after 12 weeks of treatment, with superior overall efficacy (P < 0.05). After 12 weeks of treatment, the Lactobacillus count, Bifidobacterium count, B/E value (0.89±0.16 vs. 0.74±0.13), and serum 5-HT level in the study group were higher than those in the control group (P < 0.05), while the Enterococcus count, Enterobacter count, and serum IL-6 in the study group were lower than those in the control group (P < 0.05). No significant difference was observed in the adverse reaction rates between the two groups (P>0.05).  Conclusion  In adult patients with first-episode depression, Bifidobacterium live capsule combined with escitalopram oxalate can significantly improve intestinal flora balance, regulate serum IL-6 and 5-HT levels, and improve clinical benefits without increasing adverse effects.
A cross-sectional study on the relationship between the comprehensive index of systemic inflammation and chronic kidney disease
YI Shihua, ZHANG Qiang, LU Xiuyun, WANG Xinwei, WANG Bing
2025, 23(9): 1516-1521. doi: 10.16766/j.cnki.issn.1674-4152.004168
385 5
Abstract:
  Objective  Chronic kidney disease (CKD) is characterized by a progressive decline in renal function, which has a detrimental effect on patients ' quality of life, increases mortality risk, and poses a significant public health burden. The aggregate index of systemic inflammation (AISI), a composite biomarker derived from blood cell counts, has not yet been definitively associated with CKD. This cross-sectional study was conducted with the objective of investigating the association between AISI levels and CKD prevalence in a cohort that is nationally representative.  Methods  A total of 9 557 adults from the NHANES 2009-2018 were analyzed, with 912 (9.54%) meeting CKD diagnostic criteria. The following covariates were included in the study: age, gender, race, education, income, poverty ratio, BMI, smoking, drinking, hypertension, diabetes, metabolic syndrome and biomarkers. Multivariable logistic regression models, adjusted for demographic and clinical confounders, were employed to assess the associations between AISI quartiles and CKD risk. Restricted cubic splines were utilized to evaluate linearity, while the ROC, DCA and calibration assessed the model ' s performance.  Results  Participants with CKD exhibited significantly higher median AISI values compared to non-CKD individuals [251.14 (170.39, 403.65) vs. 236.05 (157.08, 363.51), P=0.004]. Elevated AISI levels were found to be independently associated with increased risk of CKD (OR=1.112, 95% CI: 1.040-1.188, P=0.002). A linear dose-response relationship was observed (P for overall < 0.001; P for nonlinear=0.465), with CKD risk rising markedly above the cohort median AISI (237.30). The final model demonstrated strong predictive accuracy AUC value of 0.737(95% CI: 0.718-0.756, P < 0.001). Subgroup analyses further suggested gender-specific modifications of the association between the AISI and CKD.  Conclusion  As a composite inflammatory biomarker, AISI has been demonstrated to exhibit a dose-dependent association with the risk of CKD, particularly at elevated levels. These findings lend support to the hypothesis that the test has the potential utility for population-level CKD risk stratification and for the early identification of high-risk individuals.
Application of "Internet+ Healthcare" smart medical consortium model model in the management of children and adolescents with diabetes mellitus
WANG Xiaoyan, ZHANG Manyan
2025, 23(9): 1522-1525. doi: 10.16766/j.cnki.issn.1674-4152.004169
369 4
Abstract:
  Objective   The "Internet+ Healthcare" smart medical consortium model represents the organic integration of "Internet+ Healthcare" and medical consortia. Given the heavy caregiving burden on families of children and adolescents with diabetes mellitus (DM), there remains a lack of reports on the application effects of this smart medical consortium model in managing pediatric and adolescent DM patients. This study explores its implementation to provide evidence-based references for optimizing management strategies for children and adolescents with diabetes mellitus.   Methods   A total of 80 children with DM in the Affiliated Hospital of Shaoxing University from August 2021 to July 2024 were selected. According to the random number table method, the patients were divided into an observation group and a control group, each with 40 cases. The control group implemented the conventional management mode, and the observation group implemented the "Internet+ Healthcare" smart medical consortium model. Both groups were evaluated after 6 months.   Results   After management, fasting plasma glucose (FPG), 2-hour postprandial blood glucose (2hPG), and glycated hemoglobin A1c (HbA1c) in the observation group were lower than those in the control group [(7.16±1.05) mmol/L vs. (7.69±1.02) mmol/L, (8.94±1.33) mmol/L vs. (9.62±1.40)mmol/L, (8.95±1.08)% vs. (9.49±1.15)%, P < 0.05]. The daily insulin dose, length of hospital stay, average monthly medical expenses, and incidence of hypoglycemia in the observation group were lower than those in the control group (P < 0.05). After management, the caregiver burden in the observation group was lower than that in the control group (P < 0.05). Treatment compliance and family satisfaction in the observation group were higher than those in the control group (P < 0.05).   Conclusion   The application of the "Internet+ Healthcare" smart medical consortium model in the management of children and adolescents with DM has achieved remarkable results, which can effectively reduce blood glucose levels, improve treatment compliance, reduce daily insulin dose, hospital stay, average monthly medical costs and the incidence of hypoglycemia, reduce the burden of caregivers, and improve family satisfaction.
Application of medical failure mode and effect analysis in the safety management of intravenous indwelling needles in pediatric outpatient and emergency care
LUO Zhipan, TANG Yuxia, REN Chunxia, HU Shaohua, ZHOU Huan, XU Tao
2025, 23(9): 1526-1530. doi: 10.16766/j.cnki.issn.1674-4152.004170
423 5
Abstract:
  Objective   To investigate the application value of medical failure modes and effects analysis in the management of intravenous indwelling needles for pediatric outpatients and emergency patients.   Methods   A total of 86 pediatric outpatients aged 5-14 years at the First Affiliated Hospital of Anhui Medical University of Anhui Province from December 2022 to December 2023, requiring intravenous indentation needle puncture treatment were selected as the research objects. They were randomly divided into two groups according to simple number method, 43 children in the observation group received medical failure mode and effect analysis, while 43 children in the control group received routine management. The management outcomes and incidence occurrence of adverse events related to intravenous indwelling needle use were compared and analyzed between the two groups. At the same time, modified behavioral pain scale (MBPS) was used to assess the pain degree during indwelling needle puncture.   Results   The repeat puncture rate was significantly lower in the observation group (9.3%, 4/43) compared to the control group (27.9%, 12/43, P=0.027). The incidence of adverse events was also significantly reduced in the observation group (7.0%, 3/43) compared to the control group (23.3%, 10/43, P=0.035). Additionally, the MBPS pain score in the observation group was significantly lower than that of the control group [4 (3, 5) vs. 5 (4, 6), P < 0.001].   Conclusion   The application of medical failure mode and effect analysis in the safety management of intravenous indwelling needles in pediatric outpatient and emergency departments effectively enhances patient safety and improves the overall medical experience for children.
Clinical efficacy of allergen-specific immunotherapy in Children with allergic rhinitis and its correlation with Treg cell levels
QIAN Xiaoting, SHAO Lei, ZHANG Jun
2025, 23(9): 1531-1534. doi: 10.16766/j.cnki.issn.1674-4152.004171
383 3
Abstract:
  Objective   Allergen-specific immunotherapy (ASIT) is a novel desensitization therapy for allergic diseases. However, its efficacy may be influenced by the immune response levels in children. Therefore, this study aimed to evaluated the clinical efficacy of ASIT in the treatment of allergic rhinitis and to investigate its correlation with Treg cell levels.   Methods   A total of 100 children with allergic rhinitis who were treated at Chun' an Branch of Zhejiang Provincial People' s Hospital from January to November 2020 were enrolled. According to their treatment willingness, the children were divided into an observation group receiving allergen-specific immunotherapy and a control group receiving conventional treatment, with 50 cases in each group. The clinical efficacy, lung function, allergen-specific immunoglobulin E level (sIgE), and peripheral blood Treg cell level were compared between the two groups. The Pearson correlation coefficient was used to analyze the correlation between the levels of peripheral Treg cell and the treatment efficacy.   Results   At the end of treatment, 1 month and 3 month after treatment, the total nasal symptom score (TNSS) in the observation group was lower than that in the control group. The levels of CD4+CD25+Foxp3+ Treg cells in the observation group [(8.54±1.07)%, (8.56±1.12)%, (8.79±1.33)%] were higher than those in the control group [(8.00±1.15)%, (8.05±1.32)%, (8.03±1.17)%, P < 0.05]. At both 1 month and 3 months post-treatment, the sIgE levels in the observation group were lower than those in the control group (P < 0.05). However, there was no statistically significant difference in the predicted percentage of forced expiratory volume in 1 second (FEV1% pred) between the two groups (P>0.05). In the observation group, the TNSS score at 3 months post-treatment completion was negatively correlated with the level of Treg cells (r=-0.469, P < 0.05), whereas no significant correlation was observed in the control group (P>0.05).   Conclusion   Subcutaneous allergen-specific immunotherapy is effective in improving clinical symptoms in children with allergic rhinitis, as evidenced by reduced serum sIgE levels, and increased peripheral blood Treg cell levels. Furthermore, the clinical efficacy is negatively correlated with Treg cell levels.
Application effectiveness of AI-assisted diagnosis and treatment systems in general practice clinics
FAN Aiqing, WANG Hongxing, LI Xiaopan, CHEN Guangpeng, LI Dong, JIN Taotao, HOU Jin
2025, 23(9): 1535-1538. doi: 10.16766/j.cnki.issn.1674-4152.004172
650 7
Abstract:
  Objective   To explore the application of an artificial intelligence (AI)-assisted diagnostic system in primary care settings and evaluate its effectiveness in improving disease differentiation efficiency, optimizing medical history documentation, and enhancing the quality of primary healthcare services, thereby providing empirical support for intelligent transformation in grassroots medical practices.   Methods   This empirical study deployed the Ada AI-assisted diagnostic system in two community health centers in Pudong New District, Shanghai from June to September 2024. Utilizing structured intelligent inquiry, differential diagnosis recommendations, and automated medical history generation, data from 987 patients were analyzed to assess system utilization rates, symptom distribution, diagnostic accuracy, and workflow optimization outcomes.   Results   Among 987 patients, the main symptoms included abdominal pain in 112 cases (11.35%), cough in 104 cases (10.54%), and headache in 86 cases (8.71%). The Ada artificial intelligence-assisted diagnosis and treatment system primarily identified hypertension (46 cases, 4.66%), tension-type headache (45 cases, 4.56%), and common cold (42 cases, 4.26%) as the top-ranked diagnoses (M1), while providing 3-5 differential diagnostic suggestions.   Conclusion   The AI system significantly enhances primary screening efficiency in general practice clinics. Through structured data integration, the Ada system improves disease screening efficacy and diagnostic standardization at the primary care level. We propose promoting an "AI-PCP (Primary Care Physician) synergistic model" to strengthen chronic disease and multi-morbidity management capabilities, providing technical support for hierarchical medical systems.
Construction and validation of a logistic regression model for predicting pulmonary infection risk in stroke patients undergoing left-right contralateral C7 nerve transfer surgery
GONG Yiwen, LIU Ying, XU Ye
2025, 23(9): 1539-1543. doi: 10.16766/j.cnki.issn.1674-4152.004173
357 3
Abstract:
  Objective   To identify sensitive indicators for assessing pulmonary infection risk in stroke patients following left-right contralateral C7 nerve transfer surgery, and to develop and validate a risk-prediction nomogram to support clinical condition assessment and clinical decision-making.   Methods   A retrospective analysis was conducted on 294 stroke patients who underwent left-right contralateral C7 nerve transfer surgery at Jing' an District Central Hospital between March 2021 and December 2023. Patients were stratified into an infection group (n=29) and a non-infection group (n=265) based on standardized diagnostic criteria for pulmonary infection. Demographic statistical indicators, laboratory indicators and other data of the two groups were collected. LASSO and logistic regression were used to analyze the risk factors of pulmonary infection after the left-right contralateral C7 nerve transfer surgery of stroke patients. The postoperative pulmonary infection risk prediction model was established, and the ROC curve was evaluated to analyze the efficiency and verify the stability of the model.   Results   There were significant differences in age, diabetes mellitus, peak expiratory flow (PEF), FEV1/FVC, VCmax, operation time, Beck score, American Society of Anesthesiologists (ASA) grading, and preoperative EMG abnormalities between the two groups (P < 0.05). Multifactor LASSO regression analysis showed that when λ. 1se=0.040 7, 7 predictors finally fit the characteristics. Multivariate analysis identified that age >60 years old and high Beck score as independent risk factors, while PEF≥320 L/min and FEV1/FVC≥92% were protective factors (P < 0.05). The model achieved an AUC of 0.983 (95% CI: 0.968-0.998), with sensitivity and specificity of 0.931 and 0.936, respectively. Internal validation Bootstrap (B=1 000) confirmed stable predictive performance, and decision curve analysis showed clinical utility.   Conclusion   Age>60 years old and elevated Beck score are independent risk factors, whereas PEF≥320 L/min and FEV1/FVC≥92% are protective factors. The nomogram model showed excellent predictive effect on pulmonary infection, and can provide data support for clinical evaluation and decision-making.
Survey on the current status of eye behavior of children and adolescents with myopia and the effect of health education on myopia prevention and control
ZHANG Xianmei, XIN Yanfeng, CHEN Jing, LIU Shumei
2025, 23(9): 1544-1549. doi: 10.16766/j.cnki.issn.1674-4152.004174
438 5
Abstract:
  Objective   To investigate the current status of eye behavior in children and adolescents with myopia, and to analyze the influencing factors and the effect of health education on myopia prevention and control.   Methods   Across-sectional survey from May 2021 to December 2022, 96 myopic children and adolescents (191 eyes) in the Affiliated Hospital of Hangzhou Normal University were selected as the myopia group, Single vision glasses and health education were accepted at the first visit.and 117 children and adolescents (233 eyes) with normal vision were selected as the control group, without wearing glasses. The clinical data of the myopia group and the control group were collected and compared, and the items with differences were substituted into the logistic regression equation to obtain the influencing factors of the eye behavior of children and adolescents with myopia. Based on this, the prevention and control measures of myopia health education were formulated, and the diopter, axial length, average equivalent spherical lens growth and average axial length growth of the control group and the myopia group were compared after 18 months of follow-up.   Results   There were statistically significant differences in the scores of academic busyness, reading and writing posture, sleep time, outdoor exercise time, time of using electronic products and eye behavior between the two groups at the first visit (P < 0.05), and the above indicators were related factors affecting eye health behavior. After 18 months of follow-up, the diopter of the myopia group was greater than that of the control group, and the axial length was larger than that of the control group (P < 0.05), but there was no significant difference in the average equivalent spherical lens growth and the average axial length growth between the myopia group and the control group (P>0.05).   Conclusion   The current state of eye behavior among children and adolescents with myopia is a matter of concern. The progression of myopia is influenced by a number of factors, Health education programs that focus on the prevention and control of myopia can effectively delay its progression. These programs are of great clinical significance in prevention of high myopia.
Application of health education intervention based on LEARNS model in patients with schizophrenia
MA Li, LUO Mingjin, ZHANG Kaiyuan
2025, 23(9): 1550-1554. doi: 10.16766/j.cnki.issn.1674-4152.004175
382 3
Abstract:
  Objective   The construction of a healthy education program for schizophrenia LEARNS model was provided to provide a reference for the health education of similar patients in clinical practice.   Methods   A total of 101 patients with schizophrenia admitted to the Hangzhou Seventh People' s Hospital were selected and randomly divided into a control group and an observation group using a random number table, with 50 and 51 cases respectively. The control group received routine health education, while the observation group received health education intervention based on the LEARNS model. The study compared the scores for disease-related knowledge, medication adherence, social function, clinical symptoms, and readiness for discharge between the two groups.   Results   After the intervention, the scores of knowledge mastery of "basic disease knowledge", "medication guidance" and "rehabilitation training" in the observation group were higher than those in the control group (P < 0.05). The total score of the medication adherence questionnaire (MAQ, 1.70±0.33 vs. 2.40±0.45) was lower than that of the control group (P < 0.05); The total score of the scale of social function in psychosis inpatients (SSPI) for psychiatric patients (27.78±4.77 vs. 24.22±4.24) was higher than that of the control group (P < 0.05); The scores of positive symptoms, negative symptoms, general psychopathology and the total score in the positive and negative symptoms scale (PANSS) were all lower than those in the control group (P < 0.05). The total score of the readiness for hospital discharge questionnaire (RHDS, 100.43±10.15 vs. 92.03±11.54) was higher than that of the control group (F=20.091, P < 0.001).   Conclusion   Health education intervention based on the LEARNS model for adult schizophrenia inpatients can improve disease cognition levels, enhance medication compliance, improve social function, reduce clinical symptoms, and improve discharge readiness.
Changes in peripheral blood lymphocyte subsets in patients with systemic lupus erythematosus correlate with disease activity and predict the value of systemic damage
YU Xuanhua, ZHANG Weizhen, LIU Changquan, LYU Xuebing, WU Yueping, CHEN Rongyan, HUANG Huijuan
2025, 23(9): 1555-1560. doi: 10.16766/j.cnki.issn.1674-4152.004176
375 5
Abstract:
  Objective   To explore the correlation between changes in lymphocyte subsets in systemic lupus erythematosus (SLE) patients and disease activity, as well as the value in predicting different system impairments, in order to provide laboratory indicators for clinical assessment of SLE disease activity and system impairments.   Methods   A total of 85 SLE patients and 80 healthy controls admitted to People' s Hospital Affiliated to Fujian University of Traditional Chinese Medicine from March 2023 to June 2024 were enrolled. The SLE patients were classified based on disease activity and damage to different systems. The counts of T lymphocyte subsets, B lymphocytes, and NK cells were measured. Correlation analysis and logistic regression analysis were used to explore the correlation between these parameters and SLE disease activity indicators and their predictive value for damage to different systems.   Results   The absolute counts of CD3+, CD4+, CD8+ T lymphocytes, B lymphocytes, and NK cells in SLE patients and the disease activity group were all lower than those in the healthy control group and the disease inactivity group. The absolute counts of CD3+, CD4+, and CD8+ T lymphocytes in the SLE renal lesion, hematological system involvement, arthritis, and serositis groups were all lower than those in the groups without corresponding system damage. The absolute count of NK cells was decreased in the renal lesion group. The absolute counts of CD3+ and CD8+ T lymphocytes were decreased in the infection group (P < 0.05). The combined detection of erythrocyte sedimentation rate (ESR), anti-dsDNA antibody, absolute counts of CD3+, CD4+, and CD8+ T lymphocytes, NK cells, and B lymphocytes had an AUC of 0.882 for predicting SLE disease activity. The combined detection of complement (C)3, absolute counts of CD3+, CD4+, and CD8+ T lymphocytes, and NK cells had an AUC of 0.833 for predicting SLE renal lesions.   Conclusion   Lymphocyte subsets are abnormal in SLE patients with disease activity, damage to different systems, and concomitant infections, etc. Combined detection of lymphocyte subsets and SLE disease activity indicators can assess SLE disease activity and predict damage to different systems.
Review on the predictive value of KL-6 for the risk of pulmonary fibrosis after ARDS
WANG Xiujun, ZENG Lingyong, WANG Hongman
2025, 23(9): 1561-1564. doi: 10.16766/j.cnki.issn.1674-4152.004177
326 3
Abstract:
Acute respiratory distress syndrome (ARDS) is a severe respiratory failure with a high degree of mortality. The molecular mechanism is complex, often involving multiple injuries in the lungs and the body and interactions. The main clinical features of ARDS include inflammatory response, massive release of cytokines and activation and dysregulation of coagulation pathways. Clinically, the convenient prognosis of such patients usually shows different degrees of pulmonary fibrosis, which is also an important factor leading to the poor prognosis of ARDS patients. Inflammatory response plays an important role in ARDS, including downregulation of the proinflammatory pathway and upregulation of anti-inflammatory pathways. Pulmonary fibrosis is the abnormal collagen deposition caused by continuous inflammatory damage and repair disorders, which promotes the occurrence of fibrosis. Fibrosis is a pathological process that is associated with scarring and fibrosis of the lung tissue, often accompanied by inflammation and injury. Studies have shown that the Krebs von den Lungen-6 (KL-6) high-molecular-weight mucin-like glycoprotein is closely related to the degree of alveolar epithelial damage and is a sensitive marker reflecting the degree of fibrosis. In ARDS patients, KL-6 was found to be elevated in ARDS and its subsequent pulmonary fibrosis, however, the kinetics and prognostic significance of KL-6 have not been extensively studied, and this paper focuses on the predictive role of KL-6 in pulmonary fibrosis after ARDS.
Advancements in B-cell targeted therapies for systemic lupus erythematosus
ZHANG Shuqing, ZHANG Wenbo, ZHAO Dongbao
2025, 23(9): 1565-1568. doi: 10.16766/j.cnki.issn.1674-4152.004178
478 8
Abstract:
Systemic lupus erythematosus (SLE), characterized by significant clinical and molecular diversity, is an autoimmune disease that can affect multiple organ systems, sometimes it can be life-threatening. The abnormal activation of B cells and the production of autoantibodies play a central role in the pathogenesis of SLE. Standard of care comprise glucocorticoids, hydroxychloroquine, immunosuppressive agents, and calcineurin inhibitors. Nevertheless, a subset of patients shows minimal improvement with treatment or undergo frequent relapses. As the understanding of the pathological mechanisms of SLE deepen, much more researchers focus on the area of B cell targeted therapies. Incorporating B cell targeted therapy into conventional treatment has significantly increased disease remission rates, reduced disease activity, decreased relapse rates, and minimized corticosteroid use in patients. A thorough comprehension of the mechanisms, indications, efficacy, safety, and potential risks of these therapies is essential for making targeted B cell drugs widely used in clinics and personalize treatment plans to individual patients. This review outlines the critical role of abnormal B cell activation in SLE, systematically review the latest advancements in both basic and clinical research, focusing on B cell targeted therapies, and explore the reasons why some trials have not met expected outcomes. Furthermore, the review discusses the challenges faced by targeted B cell therapy and provides a perspective on future development directions, offering valuable insights for clinicians and researchers and bringing better options to patients.
Comparison of the efficacy of ultrasound-guided acupotomy visualization and traditional blind acupotomy in the treatment of carpal tunnel syndrome
ZHANG Li, YANG Mei, WANG Yuan, DU Fenfei
2025, 23(9): 1569-1572. doi: 10.16766/j.cnki.issn.1674-4152.004179
367 3
Abstract:
  Objective  Ultrasound visualization provides technical support for the precise application of acupotomy in treatment of carpal tunnel syndrome (CTS). This study explores the application advantages of ultrasound-guided acupotomy in the treatment of CTS compared with traditional blind acupotomy.  Methods  A total of 94 patients with CTS who received acupotomy therapy at the Department of Rehabilitation in Dongyang People ' s hospital from January 2022 to February 2025 were enrolled. According to different treatment methods, they were divided into a control group (receiving traditional blind acupotomy therapy) and an ultrasound group (receiving ultrasound-guided acupotomy therapy), with 47 cases in each group. They were both received twice treatment sessions and followed up for 4 weeks. Pain visual analogue scale (VAS) scores, ultrasonic measurements [thickness of transverse carpal ligament (TTCL), median nerve cross-sectional area (CSA), and anterior and posterior diameter of median nerve (D) in the cross section of uncinate bone], EMG measurements [median nerve end motor latency (DML), median sensory nerve conduction velocity (SNCV), and compound muscle action potential (CMAP)] were compared between the two groups before and after treatment. Pre- and post-treatment comparisons were performed to evaluate the therapeutic efficacy and the complications.  Results  The VAS scores of numbness and pain in daytime and nighttime after treatment were lower than those before treatment (P < 0.05). In addition, the daytime [(2.04±0.61) points vs. (2.61±0.70) points] and nighttime numbness VAS scores [(2.23±0.64) points vs. (2.87±0.75) points] of the ultrasound group were lower than those of the control group (P < 0.05), respectively. After treatment, TTCL, CSA, D, and DML were significantly decreased, while SNCV and CMAP were higher than before treatment (P < 0.05). Improvements were more pronounced in the ultrasound group than in the control group, while SNCV and CMAP were higher than control group (P < 0.05). The therapeutic grade composition of the ultrasound group was better than that of the control group (Z=4.506, P=0.003), with no significant difference in the complication rates between the two groups (P>0.05).  Conclusion  Compared with traditional blind acupotomy, ultrasound-guided acupotomy provides better symptoms relief of numbness and pain in CTS patients, improves the ultrasonography and EMG indicators, and improves clinical efficacy.
The effect of rehabilitation training combined with acupressure therapy on wrist dorsiflexion function in patients with subacute stroke
JIANG Wenfang, FANG Chengyan, CHEN Yan, MA Jing
2025, 23(9): 1573-1576. doi: 10.16766/j.cnki.issn.1674-4152.004180
384 3
Abstract:
  Objective  Patients suffering from subacute stroke have been shown to exhibit impaired wrist extension function and upper limb motor dysfunction. There is still room for improvement in the efficacy of conventional internal medicine nursing combined with rehabilitation training. This study applied a combination of rehabilitation training and acupressure therapy to analyze its impact on wrist extension function in patients with subacute stroke.  Methods  Convenience sampling was employed to select 182 patients with subacute stroke admitted to Shaoxing Traditional Chinese Medicine Hospital from January 2023 to December 2024, as the subjects of the research. Participants were randomly allocated into two experimental cohorts using a randomized numerical table approach, with each cohort comprising of 91 subjects. The control group received routine internal medicine nursing and rehabilitation training, while the observation group received acupuncture therapy based on the control group. A comparison was to be made of the clinical efficacy in two groups of patients, with reference to surface electromyography (sEMG) of wrist flexors, wrist dorsiflexion function, and upper limb motor function, both before and after treatment.  Results  The total effective rate of the observation group was found to be 93.4% (85/91), which was higher than that of the control group [82.4% (75/91), P < 0.05]; Following the administration of treatment, the integrated electromyography (iEMG) and root mean square (RMS) values of the affected wrist flexor muscle in the observation group were found to be (58.76±10.61) μV and (32.76±7.13) μV, which were found to be higher than those in the control group (54.29±13.74) μV and (24.81±6.60) μV, P < 0.05; Following the administration of treatment, the passive range of motion (PROM) and the simplified Fugl-Meyer assessment scale (FMA) scores of the observation group were found to be (11.83±3.56)° and (17.13±4.35) points, respectively, which were higher than those of the control group (8.02±2.18)° and (14.29±4.68) points, P < 0.05.  Conclusion  Acupressure therapy has been demonstrated to be more efficacious than conventional rehabilitation training in restoring wrist extension function and upper limb motor function in patients with subacute stroke, and can promote functional recovery in these patients.
Research hotspots and trends of general medicine graduate theses in China
TAN Jieying, LU Mingyan, NING Zong, YANG Xia
2025, 23(9): 1577-1582. doi: 10.16766/j.cnki.issn.1674-4152.004181
384 4
Abstract:
  Objective  China's general practice health services and general practice education are developing rapidly. To summarize the relevant graduate theses of general practice through bibliometric analysis and clarify the research hotspots and trends, reflecting the existing problems, and providing reference for the selection of topics for future graduate students in General Medicine.  Methods  Graduate theses of general practice from 2013 to 2023 was searched for in the China National Knowledge Infrastructure (CNKI) and Wanfang Database. CiteSpace software was used to visually analyze the number of publications, degree type, institutions, keywords, etc.  Results  Ultimately 2 475 documents were included. There were relatively few graduate theses in general practice from 2013 to 2014, but it entered a rapid growth stage since 2015. A total of 105 universities participated in this study. There was a large gap in professional development among institutions, and there was little cooperation. According to the keyword visualization analysis, it was found that the top 10 high-frequency keywords were type 2 diabetes, risk factors, influencing factors, prognosis, the elderly, hypertension, clinical efficacy, meta-analysis, coronary heart disease, general practitioners; and diabetes mellitus, health management, and health education had the highest intermediary centrality; the keywords clustered together to form 9 modules, which could be focused on 4 topics, chronic disease management, epidemiology, clinical diagnosis and treatment, and discipline construction. The research hotspots kept changing from 2013 to 2023, and the keyword with the highest emergence intensity during this period was traditional Chinese medicine syndrome type. The research hotspot focused on diseases, but there were more explorations on the disease diagnosis and treatment; after 2018, insomnia, depression, health management and obesity became the most prominent keywords.  Conclusion  In recent years, the research hotspots of graduate theses in general medicine mainly focus on chronic disease management, epidemiology, clinical diagnosis and treatment and discipline construction, and insomnia, depression, health management and obesity may become the future research trend. However, there is still a big gap compared with domestic and international journals in the field of general medicine. Future research should have an international perspective, root general practice research in our grassroots and communities, promote the development of general practice and a healthy China.
Application of Micro-lecture and virtual simulation teaching mode in Experimental Diagnostics
DIAO Yanjun, ZHOU Lei, YANG Liu, ZHOU Ke, ZHANG Xiang, LI Rui, CAO Weiwei, HAO Xiaoke, LIU Jiayun
2025, 23(9): 1583-1586. doi: 10.16766/j.cnki.issn.1674-4152.004182
324 4
Abstract:
  Objective  Experimental Diagnostics is recognized as a critical course for cultivating clinical diagnosis and treatment capabilities. However, current teaching faces three major challenges: complex correlations between indicators, insufficient experimental resources, and rigid teaching models, which necessitate innovative pedagogical approaches to enhance training quality. Therefore, this study investigates the application effectiveness of integrating micro-lectures and virtual simulation teaching models in the curriculum of Experimental Diagnostics.  Methods  A total of 128 students included in the experimental diagnosis teaching and research office of the First Affiliated Hospital of Air Force Medical University from the Grade 2020 five-year clinical medicine program were selected as the control group and received traditional teaching methods. Meanwhile, 126 students from the Grade 2021 five-year clinical medicine program were chosen as the observation group, in addition to the traditional methods, were exposed to a teaching model incorporating micro-lectures and virtual simulation. The assessment results, knowledge, attitude, and practice (KAP) level, teaching effect, learning interest, and teaching satisfaction of the two groups were compared.  Results  The theoretical knowledge, experimental operation, and total scores of the observation group were higher than those of the control group (P < 0.05). After learning, KAP scores and teaching effectiveness in the observation group were higher than those in the control group (P < 0.05). The effect of the observation group on improving knowledge memory, learning efficiency, autonomous learning ability, and clinical thinking ability were higher than those of the control group (P < 0.05). The study' s interest in experimental diagnostics in the observation group was higher than that in the control group after learning (P < 0.05). The satisfaction of teaching methods and learning results in the observation group was higher than that in the control group [94.44% (119/126) vs. 83.59% (107/128), 92.06% (116/126) vs. 78.90% (101/128), P < 0.05]. Conclusion Micro-lecture and virtual simulation teaching mode can complement the traditional teaching mode, which can not only improve students' assessment results, learning interest, and KAP level, but also improve the teaching effect and be recognized by students.
Visual analysis of hot topics and trends in standardized training for general practice residents in China
YU Haiyan, WANG Wei, ZHU Hongyuan, ZHU Chuanbo, CHEN Ren, ZHANG Lixia
2025, 23(9): 1587-1590. doi: 10.16766/j.cnki.issn.1674-4152.004183
303 4
Abstract:
  Objective  Based on the visual analysis of literature data related to the field of standardized training of general practice residents in China, to explore the current situation, hotspots, and development trend of the research on standardized training of general practice residents in China.  Methods  By searching the literature related to standardized training of general practice residents published in the China National Knowledge Infrastructure (CNKI) database from January 2015 to October 2024, and using the bibliometric software CiteSpace to visualize and analyze the year of publication, keyword co-occurrence, clustering, and emergence of the literature.  Results  A total of 627 literatures were included. The research on standardized training of general practice residents in China started late, and the number of research publications in this field fluctuates but was generally in a good development trend of rising and stability. The number of publications in 2015-2016 was relatively small, with a total of 65 articles, accounting for 10.36%; the number of publications in 2017-2020 grew rapidly, with a total of 281 articles, accounting for 44.82%; the number of publications in 2021-2024 was relatively stable and had a slight downward trend, totaling 281 articles, accounting for 44.82%. The keywords and their centrality and clustering scale showed that general practice, residency, general practitioner, and general physicians were the research hotspots. The analysis of keyword emergence showed that the initial period mainly focuses on the research of training mode and training status, while the current research was more in-depth, and the final assessment, outpatient teaching, satisfaction, mentorship, questionnaire survey, Delphi method and so on become the hot spots of research in this field and the future research direction.  Conclusion  In the future, we should strengthen in-depth research on the diversification of research topics and methods in the field of standardized training for general practice residents, combine multiple research methods such as questionnaire surveys and the Delphi method, and further promote the innovative development of research topics such as improving the construction of general dentistry, standardizing general practice outpatient teaching, and improving the pass rate of final examinations.
Summary of the best evidence for managing low anterior resection syndrome in patients after rectal cancer sphincter-saving surgery
LIU Mengyu, SUN Xiaoqiao, HUO Rui
2025, 23(9): 1591-1594. doi: 10.16766/j.cnki.issn.1674-4152.004184
424 2
Abstract:
  Objective  Retrieve and summarize the highest evidence from both domestic and international sources on the management of patients with LARS, in order to provide a basis for clinical practice.  Methods  The PIPOST was adopted to establish evidence-based problems, and the "6S" pyramid evidence model was adopted. The system conducted a comprehensive search across various databases including UpToDate, BMJ Best Practice, Cochrane Library, Web of Science, PubMed, Embase, CINAHL, NICE, ASCRS, American Medical Association, Chinese Biomedical Literature Database, Yimaitong, CNKI, Wanfang, and VIP, focusing on the management of patients experiencing low anterior resection syndrome after rectal preservation surgery, including clinical decisions, guidelines, systematic reviews, expert consensus, and original research. Two team members independently completed the literature quality evaluation using corresponding literature quality evaluation tools and extracted relevant evidence. The evidence was summarized and evaluated using the grading and recommendation system established by the JBI Evidence-Based Health Care Center. The search period is up to August 2024.  Results  In this study, 4 166 literature were obtained through a systematic search of relevant databases, and screening in accordance with inclusion and exclusion criteria, a total of 13 studies were definitively incorporated into the final analysis for medical evaluation, including 1 clinical decision, 4 guidelines, 2 expert consensus, 3 systematic reviews, and 3 original studies. The extraction content included multidisciplinary cooperation and evaluation, pelvic floor rehabilitation management, diet management, health education, monitoring, and follow-up, and a total of 21 best evidence were collected.  Conclusion  This study summarizes the evidence for managing patients with LARS. It aims to provide an evidence-based foundation for developing a comprehensive and scientific management protocol for patients, ultimately promoting their overall rehabilitation.
Current situation of anticipatory sadness and its influencing factors among primary caregivers of terminal stage cancer patients
ZHANG Tingting, ZHOU Juanjuan, YANG Xiaoying, GU Jiahuan
2025, 23(9): 1595-1599. doi: 10.16766/j.cnki.issn.1674-4152.004185
410 3
Abstract:
  Objective  To analyze the present situation of the expected sadness of the main caregivers of patients with terminal cancer and identify influencing factors, thereby providing a theoretical basis for alleviating the anticipatory grief (AG) of the main caregivers.  Methods  The main caregivers of 188 patients with terminal cancer in Shaoxing People ' s Hospital from February 2020 to October 2023 were taken as the research object. A cross-sectional survey was carried out by using the general data survey scale, AGS, Zarit caregiver burden interview (ZBI), the 10-item Connor-Davidson resilience scale (CD-RISC10), and the perceived social support scale (PSSS), and Pearson correlation was used to analyze the correlation between the above scales. Multiple linear regression was used to analyze the factors affecting AGS, the main caregiver.  Results  The main caregivers of terminal cancer patients demonstrated moderately high scores on the AGS and ZBI scales, but moderately low scores on the CD-RISC10 and PSSS scales. AGS scores showed a significant positive correlation with ZBI scores (r=0.849, P < 0.001), while exhibiting negative correlations with both CD-RISC10 (r=-0.863, P < 0.001) and PSSS scores (r=-0.652, P < 0.001). ZBI was negatively correlated with CD-RISC10 (r=-0.797, P < 0.001) and PSSS (r=-0.734, P < 0.001). CD-RISC10 and PSSS were positively correlated (r=0.725, P < 0.001). The results of multiple linear regression showed that gender, relationship with patients, payment method of medical expenses, knowledge of diseases, death education, working status, ZBI, CD-RISC10, and PSSS were the related factors affecting AG (P < 0.05).  Conclusion  The main caregivers of terminal cancer patients exhibited elevated AGS scores, particularly among females, spouses of patients, those with modest household income, limited disease knowledge, and lower psychological resilience or perceived social support. Notably, anticipatory grief was more pronounced in caregivers with heavier caregiving burdens.
The chain mediating effect of empathy ability and emotional intelligence between professional identity and job engagement of nursing students
HUANG Huimin, JIANG Guangming, YANG Xiumu, SHEN Zhengfu, MA Lan
2025, 23(9): 1600-1604. doi: 10.16766/j.cnki.issn.1674-4152.004186
589 2
Abstract:
  Objective  To investigate the chain-mediated effect of empathy and emotional intelligence on the professional identity and work engagement of nursing interns in vocational colleges. The study ' s objective is to provide a theoretical basis for improving work engagement among nursing students.  Methods  From July to August 2024, 409 intern nursing students from the School of Nursing at Shanghai Donghai Polytechnic College were selected for participation in a research study employing the convenience sampling method. Questionnaires were administered to intern nursing students, employing the general information questionnaire, the occupational identity scale, the empathy ability scale, the emotional intelligence scale and the work engagement scale. To analyze the correlation between professional identity, empathy ability, emotional intelligence and work engagement of nursing students. In addition, the chain mediating effect of empathy ability and emotional intelligence between professional identity and work engagement of nursing students will be studied.  Results  The mean values obtained for the variables of occupational identity, empathy, emotional intelligence, and work engagement of nursing students were (44.97±8.73) points, (93.98±14.01) points, (3.85±0.72) points, and (36.92±13.59) points, respectively. The findings indicated a substantial positive correlation between occupational identity, empathy, emotional intelligence, and work engagement were significantly positively correlated (r=0.333-0.699, P < 0.01). Empathy ability and emotional intelligence have a chain-mediated effect between professional identity and job engagement of nursing students. The mediation effect ratio is estimated to be 5.33%.  Conclusion  The present study hypothesizes the existence of a chain mediation effect between empathy and emotional intelligence in the relationship between professional identity and job engagement of nursing students. Nursing managers and educators to prioritize the cultivation of empathy and emotional intelligence among nursing students, guiding them in the establishment of a correct professional identity, thereby increasing their work engagement.
Analysis of the influence of a risk early warning intervention program on the incidence of hypothermia and shivering in elderly patients undergoing general anesthesia
CHEN Zifei, XIANG Guangheng, WU Chongchong
2025, 23(9): 1605-1609. doi: 10.16766/j.cnki.issn.1674-4152.004187
389 3
Abstract:
  Objective  Elderly patients undergoing knee replacement surgery are at a high risk of intraoperative hypothermia and shivering. Reducing the incidence of hypothermia and shivering in elderly patients undergoing knee replacement is of significant clinical importance. Therefore, this study aimed to explore whether a risk early warning intervention program can effectively reduce the occurrence of intraoperative hypothermia and shivering during operation in elderly patients undergoing knee replacement under general anesthesia.  Methods  A total of 100 elderly patients undergoing general anesthesia in the Second Affiliated Hospital of Wenzhou Medical University from December 2023 to May 2024 were randomly divided into the control group (routine insulation intervention) and the observation group (risk early warning intervention procedure), with 50 cases in each group. Perioperative body temperature, incidence of hypothermia and shivering during operation, stress response markers, and coagulation function were compared between the two groups.  Results  The incidence of intraoperative hypothermia (24.00%, 12/50) and the incidence of shivering (2.00%, 1/50) were lower than in the control group [48.00% (24/50), 18.00% (9/50), P < 0.05], respectively. There were no significant differences in body temperature between the two groups upon operating room entry, after induction of anesthesia, or at the beginning of surgery (P>0.05). At 15 minutes, 30 minutes, at the end of surgery, and 15 minutes after surgery, body temperature was significantly higher in the observation group (P < 0.05). After surgery, the levels of ACTH [(46.80±8.93) pg/mL] and CRH [(24.59±5.13) ng/mL] in the observation group were lower than in the control group [(51.38±10.37) pg/mL, (28.15±6.36) ng/mL, P < 0.05]. Additionally, the observation group showed higher levels of APTT, PT, and TT, and lower levels of FIB compared to the control group (P < 0.05).  Conclusion  A risk early warning intervention program can effectively maintain the intraoperative body temperature in elderly patients undergoing knee replacement under general anesthesia, reduce the incidence of intraoperative hypothermia and shivering, attenuate the stress response, and support the stability of blood coagulation function.
Research on the development and application of a clustered diet and activity nursing program for perioperative cesarean section under the ERAS concept
ZHU Minli, WANG Lanyun, TANG Shuting
2025, 23(9): 1610-1613. doi: 10.16766/j.cnki.issn.1674-4152.004188
498 3
Abstract:
  Objective  To develop a perioperative clustered dietary activity nursing program under the ERAS concept and to evaluate the clinical effect of this program on women who have had caesarean sections.  Methods  Sixty women undergoing elective caesarean section from December 2023 to February 2024 were selected as the control group and were given regular diet and exercise advice; 60 women undergoing elective caesarean section from March 2024 to May 2024 were selected as the intervention group. The intervention group used a bundled nutritional care plan based on the ERAS concept. Comparison of preoperative fasting time and postoperative water intake time between two groups; preoperative thirst, hunger and fluid replacement rate; incidence of gastrointestinal reactions and aspiration during and after surgery; postoperative urinary catheter removal and time to first getting out of bed, time to flatulence and incidence of abdominal bloating.  Results  The preoperative fasting and water intake times were shorter in the intervention group than in the control group [(8.38±1.02) h vs. (11.96±2.16) h, (3.58±0.70) h vs. (8.76±1.08) h], the incidence of thirst and hunger before surgery was lower than that of the control group, the postoperative water intake time, postoperative urinary catheter removal and first time out of bed were earlier than those of the control group, and the postoperative exertion time was shorter than that of the control group, the incidence of abdominal distension was lower in the intervention group than in the control group, and the differences were statistically significant (P < 0.05); There was no statistically significant difference in the incidence of preoperative fasting time, preoperative fasting time, intraoperative and postoperative nausea, vomiting, and aspiration rates between the two groups (P>0.05).  Conclusion  Based on the concept of accelerated rehabilitation surgery, the bundled nutrition-activity care plan developed for caesarean section in the perioperative period is a safe, feasible and scientific care model. It can shorten the fasting time, the postoperative water intake time, reduce maternal thirst and hunger discomfort, shorten the time of urinary catheter removal, the first time of getting out of bed after surgery, and the time of gas expiration, reduce the occurrence of abdominal distention, and does not increase the incidence of gastrointestinal reactions and aspiration during and after surgery, thus promoting early postoperative recovery.
Application of precision nutrition intervention based on patient subjective holistic assessment in nursing care of patients with colorectal cancer
BAO Lichao, HE Ying
2025, 23(9): 1614-1617. doi: 10.16766/j.cnki.issn.1674-4152.004189
406 8
Abstract:
  Objective  To construct a precision nutrition intervention program for colorectal cancer based on patient-generated subjective global assessment (PG-SGA), and to provide a reference for the nutritional management of similar patients.  Methods  A total of 101 patients with colorectal cancer who were treated in Huzhou First People ' s Hospital from March 2022 to March 2024 were selected and divided into a control group (n=50) and an observation group (n=51) by random number table method. The control group received conventional nutrition intervention, while the observation group received PG-SGA-based precision nutrition intervention. Nutritional status, immune function, incidence of gastrointestinal adverse reactions during chemotherapy, and the score of the European organization research and therapeutic tissue quality of life scale (EORTCQLQ-C30) were compared between the two groups.  Results  There was no significant difference in BMI and upper arm circumference between the observation group and the control group after intervention (P>0.05). The levels of total protein [(63.44±7.22) g/L vs. (52.09±6.73) g/L], albumin [(35.77±6.73) g/L vs. (30.12±5.25) g/L] and hemoglobin [(110.98±11.23) g/L vs. (95.45±5.67) g/L] were higher than those of control group (P < 0.05); CD3+ [(71.22±8.94) % vs. (60.09±7.85) %], CD4+ [(47.80±6.32) % vs. (39.09±5.66) %] and CD4+/CD8+(1.70±0.45 vs. 1.49±0.37) were higher than those in the control group (P < 0.05). The total incidence of gastrointestinal adverse reactions was lower than that of the control group (P < 0.05). The scores of EORTCQLQ-C30 were higher than those of the control group (P < 0.05).  Conclusion  Precise nutritional intervention based on PG-SGA can improve the nutritional status of colorectal cancer patients, improve immune function, reduce the adverse reactions of chemotherapy, and improve the quality of life.
The effect of moxibustion combined with action oriented teaching method on patients with urolithiasis and ureteral stent placement
PENG Jing, SUN Jianhong, WU Jian, YE Jiajia
2025, 23(9): 1618-1622. doi: 10.16766/j.cnki.issn.1674-4152.004190
404 2
Abstract:
  Objective  Analyzing the application effect of moxibustion combined with action oriented teaching method in patients with urolithiasis undergoing postoperative ureteral stent placement surgery and who have an indwelling ureteral stent. Furthermore, the study will analyze its impact on patients'gastrointestinal function recovery, ureteral stent symptom score and self-management ability.  Methods  The random number table method was utilized to divide 112 patients who underwent holmium laser lithotripsy and had double J tube placement at Taizhou Integrated Traditional Chinese and Western Medicine Hospital from March 2021 to March 2024 into two group: the control group and the observation group, with 56 patients in each group. Following the surgical procedure, both groups of patients were administered the standard of care and nursing interventions. The control group received routine health education, while the observation group received a combination of moxibustion and an action-oriented teaching method for health education. A comparison should be made of the postoperative gastrointestinal function recovery time, ureteral stent symptoms and self-management ability between two groups of patients.  Results  The mean first exhaust and defecation time for patients in the observation group following surgery was (22.21±3.16) hours and (1.83±0.21) days, respectively. These values were significantly lower than those observed in the control group, which had a mean first exhaust and defecation time of (25.58±4.08) hours and (1.97±0.26) days, respectively (P < 0.05). The total score for the ureteral stent symptom score (USSQ) in the observation group was (28.79±3.14) points, which was lower than that of the control group [(39.66±4.72) points, P < 0.05]; During extubating, the total score of the adult health self-management skill rating scale (AHSMSRS) in the observation group was (160.52±10.56) points, which was higher than of the control group [(124.68±12.77) points, P < 0.05].  Conclusion  The combination of moxibustion and an action-oriented teaching method has been demonstrated to promote the recovery of gastrointestinal function and improve the self-management ability of patients with ureteral stent placement after urolithiasis surgery. It has been demonstrated that the treatment can also improve symptoms such as pain related to ureteral stents and lower urinary tract symptoms. Furthermore, it has been shown to positively regulate the postoperative status of patients.
The effect of continuous nursing based on ITHBC theory in patients with atrial fibrillation
WANG Pingping, NING Bin, ZHANG Xuerui, YAN Shuyan
2025, 23(9): 1623-1626. doi: 10.16766/j.cnki.issn.1674-4152.004191
366 7
Abstract:
  Objective  The implementing of continuity of care interventions is to be executed using the integrated theory of health behavior change (ITHBC) framework. The effectiveness of this implementation will be analyzed in terms of its impact on improving anticoagulant knowledge, compliance, and self-management abilities in patients with atrial fibrillation. The objective is to provide evidence-based support for optimizing the long-term management of patients with atrial fibrillation.  Methods  A total of 182 patients diagnosed with atrial fibrillation were selected as research subjects from March 2022 to July 2024, admitted to Funan County People' s Hospital. These subjects were method ically divided into two groups: a control group and an observation group, with 91 cases in each group. The control group patients received routine continuing care, while the observation group received continuing care based on ITHBC theory in addition to the care received by the control group. The level of anticoagulant knowledge mastery, anticoagulant compliance, and self-management ability between two groups of patients were compared.  Results  Following a six-month intervention period the observation group demonstrated a higher level of knowledge and compliance with anticoagulation therapy, with mean scores of 9.02±0.85 and 25.07±3.09, respectively. These scores were significantly higher than those observed in the control group, which averaged (7.19±1.03) points and (22.17±4.04) points, yielding a statistically significant difference (P < 0.05). Following the implementation of the intervention, there was an enhancement in the scores of each dimension and the total score of the atrial fibrillation self-management scale for patients in the observation group. The total score of the observation group scale exceeded that of the control group [(50.32±6.74) points vs. (44.19±8.59) points, F=4.869, P < 0.001].  Conclusion  Continuing nursing based on the ITHBC theory can improve disease-related knowledge and anticoagulant compliance in patients with atrial fibrillation, enhance patients'self-management abilities and improve clinical outcomes.
Experience of intravenous thrombolytic bridging intravascular therapy and literature review in a patient with acute ischemic stroke caused by carotid artery dissection
DAI Jinlong, BIAN Zhe, ZHANG Jiashu, LI Rui, WANG Jingyue, YE Hongyuan, LIU Liping, HAN Yue, PENG Yanbo
2025, 23(9): 1627-1630. doi: 10.16766/j.cnki.issn.1674-4152.004192
387 4
Abstract:
The clinical diagnosis and management of acute cerebral infarction resulting from carotid artery dissection remain a topic of debate. A patient with acute cerebral infarction caused by carotid artery dissection was initially treated with intravenous thrombolysis using alteplase (0.9 mg/kg). Due to inadequate clinical improvement, bridging endovascular therapy (stent placement in the left internal carotid artery) was performed, resulting in complete clinical resolution. The National Institutes of Health stroke scale (NIHSS) score improved from 18 at admission to 0 upon discharge. At the 3-month follow-up, no new clinical symptoms were observed in the patient. Based on data from 52 patients with acute cerebral infarction caused by carotid artery dissection reported in PubMed, Wanfang, and CNKI.com between 2010 and 2024, it is suggested that endovascular therapy (such as stent implantation or anti-thrombolysis) may be employed for the timely management of vascular occlusion resulting from dissection in order to achieve favorable outcomes.