留言板

尊敬的读者、作者、审稿人, 关于本刊的投稿、审稿、编辑和出版的任何问题, 您可以本页添加留言。我们将尽快给您答复。谢谢您的支持!

姓名
邮箱
手机号码
标题
留言内容
验证码

当期目录

2025年 第29卷  第10期

全科医学论坛
基于Bibliometrix的家庭医生签约服务研究现状和发展趋势分析
李雅茹, 赵静, 王欣然, 刘心雨, 管泳怡, 苏云汉
2025, 23(10): 1631-1635. doi: 10.16766/j.cnki.issn.1674-4152.004193
3 0
摘要:
  目的  我国人口老龄化形势严峻,慢性非传染性疾病患病率逐年上升,目前国内外关于家庭医生签约服务的研究逐渐增多,但存在局限性,缺乏跨地区或跨国的比较分析。本文采用文献计量学方法,对家庭医生签约服务领域的研究现状进行系统梳理和分析,把握家庭医生签约服务领域的研究热点、演进趋势,为未来的研究提供方向和参考。  方法  检索2004年1月1日—2023年12月31日Web of Science数据库收录家庭医生签约服务研究文献,使用Bibliometrix软件对相关文献从年发文量、发文期刊、机构、高被引文献、国家合作及关键词进行定量和可视化分析。  结果  共纳入1 783篇文献,涉及673种期刊,英国的《BMJ OPEN》发文最多;《柳叶刀》《美国医学会杂志》《英国医学杂志》在家庭医生签约服务领域具有显著的影响力和权威性;美国发文量达到2 603篇,远超其他国家,处于领先地位;荷兰十分重视国际合作,国际合作率最高;care和services是家庭医生签约服务研究的核心和基础;近3年的研究热点集中在老年人、中国、初级卫生保健、压力等方面。  结论  家庭医生签约服务领域发文量呈增长趋势;研究呈现出明显的国际化和多元化特征;科研合作与跨国界交流十分重要;管理慢性病患者是家庭医生签约服务领域的热点主题;心理健康将是未来研究的重点方向。
指南与共识
老年人医养康一体化康复服务体系建设的专家共识
国家重点研发计划《智慧医养康服务一体化技术与应用研究》项目组
2025, 23(10): 1636-1642. doi: 10.16766/j.cnki.issn.1674-4152.004194
1 0
摘要:
伴随着人口老龄化、高龄化的日益加剧,我国老年人医疗、康复护理以及养老等健康问题将面临重大挑战。如何更有效地整合医疗、康复、养老资源,统筹居家社区养老、机构养老等模式,并依托社区医院、康复机构等医疗康复资源,实现为老年人提供全生命周期的整合性养老和健康管理,进而实现健康老龄化,是我国当前亟须解决的问题。因此,依托于国家重点研发计划项目《智慧医养康服务一体化技术与应用研究》,由中国康复研究中心牵头起草,联合广东省人民医院、中南大学、中国老龄科学研究中心等12家单位的专家学者,就构建老年人医养康一体化服务体系建设制订本专家共识,在医养康一体化的内涵、服务原则、功能评估等7个方面形成了专家共识,以期为我国老年人医养康一体化服务建设提供科学参考。
专题/脑卒中
急性缺血性脑卒中在院内发生的风险因素及预测价值分析
迪丽达热·艾尔肯, 西合热扎提·阿布力米提, 田睿思
2025, 23(10): 1643-1646. doi: 10.16766/j.cnki.issn.1674-4152.004195
4 0
摘要:
  目的  鉴于院内发生的急性缺血性脑卒中(IHS)因患者基础疾病复杂、治疗背景特殊,常导致诊断延迟和预后不良,本研究旨在识别IHS发生的独立危险因素,并评估其预测价值,为临床早期识别和干预提供依据。  方法  回顾性选取2015年1月—2020年1月于新疆医科大学第二附属医院神经内科住院发生急性缺血性脑卒中的85例患者作为院内组,选取同期因急性缺血性脑卒中住院的170例患者作为对照组(院外组)。分析2组患者的一般资料,采用logistic回归分析研究影响院内急性缺血性脑卒中发生的因素;采用受试者工作特征曲线(ROC)分析各因素对院内急性缺血性脑卒中的预测价值。  结果  心功能不全(OR=5.202, 95% CI:1.436~18.849)、发病时mRS评分≥3分(OR=3.602, 95% CI:1.809~7.175)、围手术期(OR=4.085, 95% CI:1. 391~11. 997)、前循环+后循环梗死(OR=1.959, 95% CI:1.270~3.022)、心源性栓塞型(OR=2.312, 95% CI:1.257~4.253)均为院内急性缺血性卒中发生的独立危险因素(P<0.05)。心功能不全、发病时高mRS评分、围手术期、前循环+后循环梗死、心源性栓塞型预测IHS的AUC分别为0.705、0.720、0.736、0.751、0.782,5项指标联合预测的AUC为0.913。  结论  心功能不全、发病时高mRS评分、围手术期、前循环+后循环梗死及心源性栓塞型梗死是影响IHS发生的独立危险因素,并对IHS的发生具有一定的预测价值。
脑卒中患者卒中后肺炎发生的危险因素分析
赵康路, 李雪松, 叶卫江, 刘文兵, 陈晓玲, 夏秋华
2025, 23(10): 1647-1649. doi: 10.16766/j.cnki.issn.1674-4152.004196
0 0
摘要:
  目的  分析脑卒中患者卒中后肺炎发生的危险因素,为临床提前干预提供依据,以期减少卒中后肺炎的发生,改善预后。  方法  选取2023年1—10月在浙江康复医疗中心接受治疗的441例脑卒中恢复期患者,收集记录患者性别、年龄,有无意识障碍、吞咽困难,有无侵入性操作,有无冠心病、高血压、高脂血症等并发症,血白细胞、红细胞、血小板,血清钾、钠、糖化血红蛋白等指标,根据入院3周内是否发生肺炎,将患者分为肺炎组(71例)和非肺炎组(370例)。统计卒中后肺炎的发生情况,采用非条件多因素logistic回归分析脑卒中患者卒中后发生肺炎的危险因素。  结果  441例患者中男性293例、女性148例,年龄为(58.58±13.60)岁。卒中后肺炎发生率为16.10%(71/441)。肺炎组和非肺炎组年龄、意识障碍、吞咽障碍、有无侵入性操作、糖化血红蛋白比较差异均有统计学意义(P<0.05)。非条件多因素logistic回归模型分析显示,年龄>60岁、合并意识障碍、合并吞咽障碍、糖化血红蛋白>7.5%是影响脑卒中并发肺炎的独立危险因素(P<0.05)。  结论  脑卒中患者卒中后肺炎的发生与年龄、合并意识障碍、吞咽障碍、糖化血红蛋白升高有一定关联,应加强相关危险因素的干预,降低脑卒中患者发生肺炎的风险,改善患者预后。
睡眠状况与脑卒中后认知功能障碍风险的相关性
旷咏梅, 胡乐静, 柯雪雪, 练红, 邹泽慧, 虞瑜
2025, 23(10): 1650-1653. doi: 10.16766/j.cnki.issn.1674-4152.004197
1 0
摘要:
  目的  睡眠障碍是脑卒中后常见的并发症之一,对患者的康复和生活质量有显著影响。本研究旨在探讨睡眠状况与脑卒中后认知功能障碍(PSCI)之间的相关性,以期为临床诊断和治疗提供科学依据。  方法  选取2021年1月—2024年1月于温州医科大学附属第二医院进行治疗的146例脑卒中患者作为研究对象。随访3个月后,采用蒙特利尔认知评估量表(MoCA)评估其认知功能,根据评分结果分为PSCI组(72例)及非PSCI组(74例)。比较2组患者一般资料,并采用匹兹堡睡眠质量指数量表(PSQI)评价患者睡眠状况。采用多因素logistic回归模型筛选患者卒中后PSCI相关影响因素,并采用限制性立方样条图(RCS)拟合睡眠状况与卒中后PSCI的关系。  结果  PSCI组患者PSQI、美国国立卫生研究院卒中量表(NIHSS)评分高于非PSCI组(P<0.05);PSCI组患者血尿酸(BUA)、胱抑素C(CysC)、超敏C反应蛋白(hs-CRP)水平均高于非PSCI组(P<0.05);多因素logistic回归分析显示,PSQI、NIHSS、CysC、BUA、hs-CRP均是脑卒中后发生PSCI的独立影响因素;绘制RCS显示,睡眠状况与患者脑卒中后发生PSCI呈显著非线性关系(χ2=21.380,P<0.001)。  结论  睡眠状况与脑卒中后PSCI发生风险有相关性。
全科医学论著
三七总皂苷编码基因治疗急性心肌梗死的潜在分子靶向策略研究
周瑞玲, 孙敬辉, 邓艳萍, 黄弘博, 牛泽龙, 王培利
2025, 23(10): 1654-1657. doi: 10.16766/j.cnki.issn.1674-4152.004198
1 0
摘要:
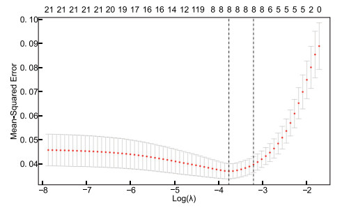
  目的  利用孟德尔随机化方法(MR)分析三七总皂苷(PNS)抗血栓药物靶点的遗传基因与急性心肌梗死(AMI)的因果关系。  方法  从欧洲生物信息研究所、芬兰数据库、UK Biobank数据库得到全基因组关联研究(GWAS)数据集,均可在IEU Open GWAS网站在线获取。以随机效应逆方差加权法为主分析方法,MR-Egger回归检验水平多效性,Cochran' s Q检验评估异质性,留一法敏感性分析评估稳定性。  结果  共获取18个PNS核心靶点,将18个靶点的遗传代理经血栓类阳性疾病筛选后确定11个有效的抗血栓靶点,最终产生5个治疗AMI的潜在靶点,包括HIF1A、MDM2、CCND1、TP53、INS。PNS靶标HIF1A、CCND1、TP53、INS与AMI发生风险增加相关(均OR>1, P<0.05),MDM2与AMI发生风险降低相关(OR=0.671, P=0.022)。  结论  PNS具有潜在的治疗作用,可通过抗血栓基因靶向心肌凋亡通路调控AMI进展,为AMI精准治疗策略开发提供了关键靶点。
腹泻型肠易激综合征寒热病性与肠道菌群及代谢物的关系探究
唐镔镔, 胡运莲, 苏成霞, 黄超群, 文娜
2025, 23(10): 1658-1662. doi: 10.16766/j.cnki.issn.1674-4152.004199
1 0
摘要:
  目的  本研究旨在通过腹泻型肠易激综合征(IBS-D)寒湿证和湿热证大鼠模型研究IBS-D中医寒热病性与肠道菌群及代谢物变化的关系。  方法  采用随机数字表法将30只新生大鼠随机分为正常组、湿热组和寒湿组,每组10只。湿热组大鼠采用母子分离、束缚应激、高脂高糖饮食以及湿热环境构建湿热证IBS-D大鼠模型,寒湿组采用母子分离、束缚应激和番泻叶灌胃建立寒湿证IBS-D大鼠模型。采用16S rRNA测序和非靶向代谢组学分别检测各组大鼠的肠道菌群和粪便代谢物,并进行生物信息学分析。  结果  各组大鼠肠道菌群的β多样性存在明显差异(P=0.001)。Clostridium_sensu_ stricto_1、RoseburiaPrevotella等菌属在湿热组中富集;DubosiellaAkkermansiaRomboutsia等菌属在寒湿组富集。湿热组大鼠紊乱的代谢通路主要涉及丙氨酸、天冬氨酸和谷氨酸代谢等;寒湿组大鼠紊乱的代谢通路主要涉及类固醇激素生物合成、色氨酸代谢和组氨酸代谢等;湿热组与寒湿组大鼠的差异通路主要涉及泛酸和辅酶A生物合成、组氨酸代谢和甘油磷脂代谢等。  结论  寒湿证和湿热证IBS-D的肠道菌群和代谢物特征不同,肠道菌群和代谢物的变化可能是中医寒热病性的微观体现。
眼眶炎性假瘤患者血清IL-6、TNF-α水平与糖皮质激素敏感性的关系
任晓磊, 宫朝举, 周雷, 章志扬, 李威
2025, 23(10): 1663-1666. doi: 10.16766/j.cnki.issn.1674-4152.004200
0 1
摘要:
  目的  探讨眼眶炎性假瘤(IOIP)患者血清白介素-6(IL-6)、肿瘤坏死因子-α(TNF-α)水平与糖皮质激素敏感性的关系。  方法  选取2020年1月—2023年1月徐州市第一人民医院收治的97例IOIP患者,根据糖皮质激素敏感性分为糖皮质激素敏感组(62例)及抵抗组(35例),比较2组IL-6、TNF-α水平及疾病活动性,分析相关性,采用ROC曲线评估各指标对糖皮质激素敏感性的预测价值。  结果  抵抗组血清IL-6、TNF-α水平及活动期患者占比[(2.24±0.28)pg/mL、(1.95±0.22)pg/mL、65.71%(23/35)]均高于敏感组[(1.89±0.33)pg/mL、(1.45±0.31)pg/mL、43.55%(27/62),P<0.05]。敏感组活动期患者血清IL-6、TNF-α水平均高于非活动期患者(P<0.05);抵抗组活动期患者血清IL-6、TNF-α水平均高于非活动期患者(P<0.05)。Spearman相关分析显示,IL-6、TNF-α水平与IOIP患者疾病活动性均呈正相关关系(r=0.433、0.396,P<0.05)。ROC曲线显示,IL-6、TNF-α水平预测糖皮质激素敏感性的曲线下面积分别为0.689、0.698(P<0.05)。  结论  血清IL-6、TNF-α在糖皮质激素抵抗IOIP患者中表达较高,可预测糖皮质激素敏感性。
神经炎症相关因子在老年脊柱骨折患者术后谵妄发生预测中的价值及预测模型构建
汪海钢, 李艳玲, 李跃兵, 刘璐, 黄余亮, 王新华, 杨世伟
2025, 23(10): 1667-1671. doi: 10.16766/j.cnki.issn.1674-4152.004201
0 0
摘要:
  目的  为探究神经炎症相关因子与老年脊柱骨折患者谵妄发生的关系,纳入老年脊柱骨折患者测量其基线神经炎症相关因子水平,并据此构建风险预测模型。  方法  纳入2022年1月—2024年6月浙江中医药大学附属第二医院426例老年脊柱骨折手术患者,根据7∶3的比例将患者分为训练集(298例)与验证集(128例)。根据患者术后谵妄发生情况分组(发生组和未发生组),探讨老年脊柱骨折术后谵妄发生的影响因素以构建预测模型,并分析其预测效能。  结果  多因素logistic回归分析显示,年龄、手术时间、白介素-6(IL-6)、IL-1β、C-反应蛋白(CRP)、中枢神经特异蛋白(S100β)均为老年脊柱骨折手术患者术后谵妄发生的独立影响因素(P < 0.05);ROC曲线分析显示,基于各项影响因素构建的模型预测老年脊柱骨折手术患者术后谵妄发生的曲线下面积为0.881,灵敏度为85.71%、特异度为79.75%,约登指数为0.655。验证集验证显示,该预测模型的曲线下面积为0.858(95% CI: 0.782~0.916),灵敏度为80.65%,特异度为76.47%,约登指数为0.571;决策曲线分析显示训练集和验证集的阈值概率分别为1%和2%,提示该预测模型具有较高的净收益。  结论  年龄、手术时间、IL-6、IL-1β、CRP、S100β均为老年脊柱骨折患者谵妄发生的影响因素,据此构建的预测模型具有较高的预测效能。
血清HIF-1α和VEGF对维持性血液透析患者血管钙化的影响
戴荣, 韩姝, 谢伟楠, 王保家, 第加美
2025, 23(10): 1672-1675. doi: 10.16766/j.cnki.issn.1674-4152.004202
1 0
摘要:
  目的  探讨血清低氧诱导因子-1α(HIF-1α)、血管内皮生长因子(VEGF)与维持性血液透析(MHD)患者血管钙化(VC)的关系,并评估其对VC的预测价值。  方法  选取2023年10月—2024年8月于安徽理工大学第一附属医院血液净化中心行MHD的101例慢性肾脏病(CKD)患者,采用腹部侧位X线平片评估患者VC情况。根据腹主动脉钙化积分(AACS)将其分为钙化组(59例)和非钙化组(42例)。比较2组患者血钙、血磷等临床资料及血清HIF-1α、VEGF水平;采用相关性分析研究HIF-1α、VEGF与AACS的相关性;采用多因素logistic回归分析研究MHD患者VC发生的影响因素;采用ROC曲线分析HIF-1α、VEGF水平对MHD患者发生VC的预测价值。  结果  钙化组年龄、透析龄、碱性磷酸酶、血钙、血磷、TC、HIF-1α、VEGF水平均高于非钙化组(P < 0.05)。相关性分析显示,HIF-1α、VEGF水平与AACS均呈正相关关系(P < 0.05)。多因素logistic回归分析显示, 年龄、血钙、血磷、HIF-1α、VEGF均为MHD患者发生VC的影响因素(P < 0.05)。HIF-1α、VEGF单独以及两者联合预测MHD患者发生VC的ROC曲线下面积分别为0.756(灵敏度47.5%,特异度97.6%)、0.777(灵敏度71.2%,特异度76.2%)、0.879(灵敏度83.1%,特异度83.3%)。  结论  年龄、血钙、血磷、HIF-1α及VEGF水平均为MHD患者发生AACS的影响因素,HIF-1α及VEGF与VC呈正相关关系,两者均对MHD患者发生VC有一定的预测价值,二者联合预测价值更高。
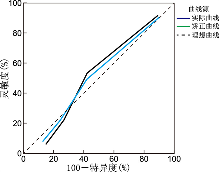
扩张型心肌病合并肺动脉高压的风险因素分析及预测模型构建
骆航宙, 周平, 陈宇凯
2025, 23(10): 1676-1680. doi: 10.16766/j.cnki.issn.1674-4152.004203
0 1
摘要:
  目的  探讨扩张型心肌病(DCM)合并肺动脉高压(PH)的风险因素,构建并验证其预测模型,为早期识别高危人群及优化临床管理提供依据。  方法  选取2022年10月—2024年10月杭州师范大学附属医院收治的122例DCM患者,按是否合并PH分为PH组与非PH组(各61例)。采用二元logistic回归分析研究DCM合并PH的风险因素并构建预测模型,通过ROC曲线评估预测模型的效能,并在训练集和验证集上验证模型性能。  结果  2组心电图QRS波、心电图中V1导联的R波+V5导联的S波振幅(RV1+SV5)、N末端脑钠肽前体(NT-proBNP)、左前降支冠状动脉(LAD)、肺动脉收缩压(PASP)差异有统计学意义(P < 0.05)。二元logistic回归分析结果显示,心电图QRS波、RV1+SV5、NT-proBNP、PASP均是DCM合并PH的影响因素(P < 0.05)。ROC分析显示心电图QRS波、RV1+SV5、NT-proBNP、PASP预测DCM出现PH的AUC为0.862、0.362、0.840、0.848,灵敏度分别为70.50%、88.50%、68.90%、86.90%,特异度分别为95.10%、9.80%、90.20%、73.80%;采用校准曲线评估模型的校准度,结果提示该列线图分度良好。依据预测模型计算公式得到预测模型数据,将预测模型数据作为检验变量,并以组别作为状态变量。建立ROC曲线分析各项模型的区分度,结果显示预测模型的AUC为0.985,灵敏度为91.80%,特异度为98.40%;绘制列线图校准曲线,训练集与验证集中校准曲线与理想曲线有较高的一致性,预测模型与实际验证差距较小。  结论  心电图QRS波、NT-proBNP、PASP是DCM合并PH的关键预测因子,综合模型预测效能优异,可为早期筛查及个体化治疗提供重要参考。
糖尿病性心肌病患者外周血单个核细胞NLPR3和NF-κB表达及与心肌灌注的相关性
孟莎莎, 李楠, 刘晓华
2025, 23(10): 1681-1684. doi: 10.16766/j.cnki.issn.1674-4152.004204
0 0
摘要:
  目的  探讨糖尿病性心肌病(DCM)患者外周血单个核细胞核苷酸结合寡聚化结构域样受体蛋白3(NLPR3)、核转录因子KappaB(NF-κB)表达特点及其与患者心肌灌注发展的相关性。  方法  选取2023年6月—2024年6月康复大学青岛医院的100例糖尿病患者分为DCM组(36例)和糖尿病组(64例),30例健康体检者为对照组。采用ROC曲线评估NLPR3、NF-κB诊断DCM的效能;采用Pearson相关性分析研究NLPR3、NF-κB与心肌灌注总运动负荷(SSS)、总静息(SRS)评分的相关性。  结果  DCM组NLPR3、NF-κB表达(1.67±0.28、2.21±0.65)高于糖尿病组(1.04±0.20、1.57±0.38),糖尿病组均高于对照组(0.76±0.10、0.75±0.10, F=172.319、91.669,P<0.05);NLPR3、NF-κB、联合检测诊断DCM的曲线下面积为0.963、0.847、0.990(P<0.05);DCM组SSS、SRS评分[(19.68±8.19)分、(13.10±4.62)分]均高于糖尿病组[(6.36±1.04)分、(5.21±1.92)分],左心室射血分数[(34.14±15.58)%]低于糖尿病组[(53.21±8.58)%,t=12.877、11.980、7.907,P<0.05];DCM患者NLPR3、NF-κB表达与SSS、SRS评分呈正相关关系(r=0.449、0.367、0.353、0.401,均P<0.05)。  结论  DCM患者外周血单个核细胞NLPR3、NF-κB表达升高,可协助临床诊断DCM,可能参与心肌灌注发展过程。
低频经颅磁刺激联合认知行为疗法对帕金森病合并睡眠障碍患者的疗效观察
柳敏芬, 蓝丽康, 吕锦, 梁燕飞, 徐如月, 吴泓蔚
2025, 23(10): 1685-1688. doi: 10.16766/j.cnki.issn.1674-4152.004205
1 0
摘要:
  目的  探讨低频经颅磁刺激(LF-TMS)联合认知行为疗法(CBT)治疗帕金森病(PD)合并睡眠障碍患者的临床效果,为改善PD患者睡眠质量提供指导方案。  方法  选取2021年10月—2023年10月丽水市人民医院收治的PD合并睡眠障碍患者92例,采用随机数表法分为观察组和对照组,各46例,2组均给予LF-TMS治疗,观察组在LF-TMS治疗基础上行CBT干预。采用匹兹堡睡眠质量指数(PSQI)量表、帕金森睡眠量表(PDSS)、心肺耦合(CPC)-测评系统评估干预前、4周时的睡眠状况,并比较2组干预后3个月的临床疗效。  结果  2组干预后4周时的PSQI、ESS量表评分均明显低于同组干预前(P<0.001),PDSS评分均明显高于干预前(P<0.001);观察组干预后4周时的PSQI量表评分指标均明显低于同期对照组(P<0.05);观察组临床总有效率明显高于对照组[44例(95.65%) vs. 36例(78.26%),χ2=6.133, P=0.013];干预前,2组CPC指标比较差异无统计学意义(P>0.05);干预后,观察组上述指标均明显优于对照组(P<0.01)。  结论  LF-TMS联合CBT应用于PD合并睡眠障碍患者治疗效果显著,能明显改善PD患者睡眠障碍,提高睡眠质量。
老年髋部骨折术后恐动症发生的影响因素分析及预测模型构建
施翠, 熊飞, 芮碧宇
2025, 23(10): 1689-1693. doi: 10.16766/j.cnki.issn.1674-4152.004206
1 0
摘要:
  目的  分析老年髋部骨折术后恐动症发生的影响因素并构建预测模型,为术后恐动症的发生进行临床干预提供理论依据。  方法  采用前瞻性研究的方法,便利选取2023年11月—2024年7月于上海市第六人民医院接受手术治疗的223例老年髋部骨折患者为研究对象,评测患者术后2天恐动症发生情况,并将其分为恐动症组与非恐动症组,分析老年髋部骨折患者术后恐动症发生的影响因素,基于得到的影响因素构建预测模型。  结果  共回收有效问卷219份,其中66例发生恐动症,发生率为30.14%。单因素及多因素分析结果显示,主要照护者(P=0.008)、麻醉药物不良反应(P=0.003)、运动自我效能感(P=0.010)、社会支持高水平(P=0.027)和疼痛情况(P=0.026)均为老年髋部骨折患者术后恐动症发生的影响因素(P<0.05)。基于各项影响因素,构建列线图预测模型并绘制校准曲线、决策曲线,结果显示预测模型对术后恐动症有较好的预测效能。  结论  老年髋部骨折患者术后恐动症发生与主要照顾者照护、发生麻醉药物不良反应、运动自我效能感低下、社会支持低下和疼痛灾难化有关,据此构建的预测模型有较好的预测效能。
老年营养风险指数与溃疡性结肠炎患者远期预后的相关性
黄秀芹, 姚海欣, 张扬, 徐李娟, 诸葛玮玮, 胡婷婷
2025, 23(10): 1694-1696. doi: 10.16766/j.cnki.issn.1674-4152.004207
1 0
摘要:
  目的  回顾性分析溃疡性结肠炎(UC)患者远期预后不良的危险因素,探究老年营养风险指数(GNRI)与UC患者远期预后的相关性。  方法  选择2020年1月1日—2021年12月31日温州医科大学附属第一医院治疗的136例UC患者,治疗3年后复查结肠镜,按照复查结果将患者分为预后良好组(92例)和预后不良组(44例)。比较2组患者的临床资料,采用Spearman相关分析研究GNRI与Mayo评分、有肠外表现、病变累及全结肠的相关性;通过多因素logistic回归分析研究影响UC患者远期预后不良的独立危险因素,采用ROC曲线分析GNRI预测UC患者远期预后不良的临床价值。  结果  预后良好组GNRI高于预后不良组(104.74±10.49 vs. 94.24±11.20),Mayo评分、有肠外表现的患者比例、病变累及全结肠的患者比例均低于预后不良组[(6.74±2.18)分vs. (8.61±2.44)分、9.78%(9/92) vs. 27.27%(12/44)、11.96%(11/92) vs. 31.82%(14/44), P<0.05]。多因素logistic回归分析显示,GNRI降低、Mayo评分升高和全结肠病变是UC患者远期预后不良的独立危险因素(P<0.05)。ROC曲线分析显示,GNRI预测UC患者远期预后不良的曲线下面积为0.734(95% CI:0.650~0.818,P < 0.001)。  结论  GNRI降低是UC患者远期预后不良的独立危险因素,可预测UC患者远期预后不良。
全科临床研究
HCV抗病毒持续应答患者发生肝细胞癌的列线图模型构建
谢蕾, 顾佳萍
2025, 23(10): 1697-1700. doi: 10.16766/j.cnki.issn.1674-4152.004208
1 0
摘要:
  目的  探究影响丙型肝炎病毒(HCV)抗病毒持续应答患者发生肝细胞癌的因素,并以此绘制列线图,为临床该类患者发生肝细胞癌的预防提供更为简便直观的预测工具。  方法  选取2020年6月—2022年6月浙江大学医学院附属第二医院临平院区收治的97例HCV感染患者为研究对象,经过治疗后均达到抗病毒持续应答。对患者进行为期2年的随访,根据随访结果分为发生肝细胞癌组(20例)和未发生肝细胞癌组(77例)。分析HCV抗病毒持续应答患者发生肝细胞癌的影响因素,构建列线图模型,并对模型进行评估和验证。  结果  发生肝细胞癌组患者的年龄、饮酒、糖尿病史、肝硬化、总胆红素(TBIL)、甲胎蛋白(AFP)与未发生肝细胞癌组患者比较,差异均有统计学意义(P < 0.05)。多因素logistic回归分析结果显示,年龄、饮酒、糖尿病史、肝硬化、AFP均为HCV抗病毒持续应答患者发生肝细胞癌的影响因素(P < 0.05)。ROC曲线显示,构建的列线图模型ROC曲线下面积为0.862(95% CI:0.805~0.939),Hosmer-Lemeshow检验结果显示,χ2=5.028,P=0.670。  结论  HCV抗病毒持续应答患者发生肝细胞癌与年龄、饮酒、糖尿病史、肝硬化、AFP等有关,基于以上因素构建的列线图模型具有较好的准确度和一致性。
血清miR-760-3p和miR-182-5p在急性缺血性脑卒中患者中的表达及与预后的关系
段凯强, 吴艳峰, 薛嘉海, 王巍, 李春玲, 李娟
2025, 23(10): 1701-1705. doi: 10.16766/j.cnki.issn.1674-4152.004209
0 0
摘要:
  目的  通过检测急性缺血性脑卒中(AIS)患者血清miR-760-3p和miR-182-5p表达,探究其与患者病情及预后的关系。  方法  选取张家口市第一医院2022年2月—2024年2月收治的179例AIS患者为观察组,根据病情严重程度分为轻度组(59例)、中度组(75例)和重度组(45例),根据患者预后情况分为预后良好组(132例)和预后不良组(47例),另选同期本院179例体检健康者作为对照组。分析血清miR-760-3p、miR-182-5p与NIHSS评分的相关性,AIS患者预后的影响因素,血清miR-760-3p、miR-182-5p对AIS患者预后的预测价值。  结果  观察组、预后不良组血清miR-760-3p、miR-182-5p水平分别低于对照组和预后良好组(P<0.05)。随着病情不断加重,患者血清miR-760-3p、miR-182-5p水平依次降低(P<0.05)。血清miR-760-3p、miR-182-5p水平与患者NIHSS评分呈负相关关系(rs=-0.578、-0.618,P < 0.001)。年龄、高血压史、吸烟史和血清miR-760-3p、miR-182-5p水平均为AIS患者预后不良的影响因素(P<0.05)。两者联合预测AIS患者预后的AUC高于miR-760-3p、miR-182-5p单独预测(P<0.05)。  结论  miR-760-3p和miR-182-5p在AIS患者血清中表达下调,与患者预后密切相关。
慢病防治研究
中老年慢性房颤患者轻度认知功能障碍的影响因素分析
曾德飞, 李亚楠, 刘晓宇
2025, 23(10): 1706-1708. doi: 10.16766/j.cnki.issn.1674-4152.004210
2 0
摘要:
  目的  探讨中老年慢性心房颤动(以下简称慢性房颤)患者轻度认知功能障碍的影响因素,以改善慢性房颤患者的认知功能。  方法  纳入2023年2月—2024年2月在河南省人民医院全科医学科就诊的102例慢性房颤患者为房颤组,纳入同期就诊的年龄与性别匹配的102例窦性心律患者为窦律组。采用蒙特利尔认知评估量表(MoCA)评估患者的认知功能,根据MoCA评分将慢性房颤患者分为认知障碍组(53例)与非认知障碍组(49例),行单因素及多因素分析。  结果  房颤组的MoCA评分为(23.94±3.28)分,窦律组为(27.17±2.51)分,2组认知功能比较差异有统计学意义(P<0.05)。房颤组心房颤动卒中风险评估和指导抗凝治疗的评分系统(CHA2DS2-VASc)评分及匹兹堡睡眠指数量表(PSQI)评分均较窦律组高;房颤组合并心力衰竭的比例、抗凝药物及β受体阻滞剂使用的比例均高于窦律组,差异均有统计学意义(P<0.05)。单因素及多因素logistic回归分析发现,年龄及CHA2DS2-VASc评分均为慢性房颤患者轻度认知功能障碍的影响因素(P<0.05)。  结论  中老年慢性房颤患者的认知功能较窦律组患者下降,其中视空间及执行功能、记忆及延迟回忆、注意力与计算力、语言、定向力下降更为显著。年龄及CHA2DS2-VASc评分均为慢性房颤患者轻度认知功能障碍的影响因素。
升阳益胃汤调节肠道菌群改善脾虚型2型糖尿病患者的临床疗效及机制研究
尤金彪, 许婵, 徐磊, 张启帆
2025, 23(10): 1709-1712. doi: 10.16766/j.cnki.issn.1674-4152.004211
1 0
摘要:
  目的  研究升阳益胃汤对脾虚型2型糖尿病(T2DM)患者的临床疗效,并探讨其作用机理与肠道菌群的相关性。  方法  严格按照纳入、排除标准收集2022年9月—2023年8月浙江中医药大学附属第三医院收治的脾虚型T2DM患者共60例,采用随机数字表法分为2组,各30例,对照组采用西医常规治疗(口服降糖药或皮下注射胰岛素),观察组在此基础上加用升阳益胃汤,治疗周期为8周。检测2组空腹血糖(FPG)、餐后2 h血糖(2hPG)、糖化血红蛋白(HbA1c)水平变化,采用16S rDNA方法检测肠道菌群变化,通过中医证候积分变化评价临床疗效。  结果  (1) 观察组患者治疗后总有效率(90.00%,27/30)高于对照组(66.67%,20/30,χ2=4.812, P=0.028),中医证候积分低于对照组(P < 0.01)。(2)2组患者治疗后FPG、2hPG、HbA1c水平显著降低,观察组低于对照组(P < 0.01)。(3)Alpha多样性和Beta多样性分析发现,治疗后观察组较对照组物种丰富度、多样性升高更多(P < 0.05),肠道菌群结构差异较大,其中变形杆菌属(Proteus)、摩氏摩根菌属(Morganella)、克雷伯菌属(Klebsiella)丰度增高显著(P < 0.05)。  结论  升阳益胃汤可有效改善脾虚型T2DM的血糖指标、中医证候表现,其作用机理与调节肠道菌群紊乱相关。
妇幼卫生研究
子宫内膜息肉切除术患者复发恐惧现状及其与心理韧性及应对方式的关系
李星星, 王秀梅, 韩燕妮, 陈俊茹
2025, 23(10): 1713-1716. doi: 10.16766/j.cnki.issn.1674-4152.004212
1 0
摘要:
  目的  分析子宫内膜息肉切除术患者的复发恐惧现状,并探讨其与心理韧性及应对方式之间的关联。  方法  采用方便抽样法选取2022年10月—2023年10月空军军医大学第二附属医院妇科128例子宫内膜息肉切除术患者作为研究对象。通过一般资料调查问卷、恐惧疾病进展简化量表(FoP-Q-SF)、心理韧性量表(CD-RISC)和医学应对方式问卷(MCMQ)收集数据,并运用Pearson相关法探讨复发恐惧与心理韧性及应对方式的关系,同时通过多元线性回归分析复发恐惧的相关因素。  结果  子宫内膜息肉切除术患者恐惧疾病进展总分为(36.53±5.82)分,家庭坚韧力总分为(66.65±18.31)分,应对方式总分为(47.12±6.10)分。子宫内膜息肉切除术患者复发恐惧及各维度与屈服、回避维度呈正相关关系(r=0.352、0.446、0.362, P < 0.05;r=0.412、0.386、0.413, P < 0.05),与心理韧性总分、面对维度均呈负相关关系(r=-0.681、-0.425、-0.308, P < 0.05;r=-0.410、-0.452、-0.371, P < 0.05)。多元线性回归分析显示,住院次数、文化程度、病程、家庭月收入、心理韧性、应对方式等均是子宫内膜息肉切除术患者复发恐惧的相关影响因素(P < 0.05)。  结论  子宫内膜息肉切除术患者的复发恐惧程度处于中等水平,心理韧性和应对方式是其主要影响因素。
益生元对妇科良性疾病患者腹腔镜术后胃肠功能恢复的影响
徐雅倩, 宋明霞, 韩琤
2025, 23(10): 1717-1720. doi: 10.16766/j.cnki.issn.1674-4152.004213
0 0
摘要:
  目的  评估益生元在妇科良性疾病腹腔镜探查术后胃肠道功能恢复中的效果,为优化术后康复策略提供依据。  方法  选择2022年9月—2023年9月于杭州市第一人民医院妇科就诊的140例腹腔镜探查术患者,按照纳入、排除标准,使用随机数字表法将患者分为干预组(益生元治疗)和对照组(安慰剂治疗),每组70例。比较2组患者术后首次排气和排便时间、胃肠道生活质量指数(GIQLI)及术后不良反应的发生率。  结果  干预组患者首次排气时间[(1.50±0.45)h vs.(2.75±1.20)h]和首次排便时间[(2.43±0.52)h vs.(3.58±0.61)h]均短于对照组(P<0.05);干预组患者出院后1周生活质量指数中躯体维度评分高于对照组(77.87±9.19 vs. 68.10±9.67,P<0.05);干预组患者出院时(55.94±15.34 vs. 63.50±18.27)和出院后1周(50.84±11.67 vs. 55.24±11.24)GIQLI评分均低于对照组(P<0.05);对照组出院时不良反应总发生率(包括腹胀、腹痛、呕吐、肠梗阻等)高于干预组[15.71%(11/70) vs. 2.86%(2/70),P<0.05]。  结论  益生元干预可显著缩短妇科良性疾病患者腹腔镜术后首次排气和排便时间,降低术后腹胀、腹痛等胃肠道不良反应发生率,并改善患者术后早期生活质量。
基社卫生研究
基于信效度检验对社区居民儿童抗菌药物使用的知信行问卷编制研究
王大珊, 周超, 全宇昊, 谢宁
2025, 23(10): 1721-1725. doi: 10.16766/j.cnki.issn.1674-4152.004214
1 0
摘要:
  目的  针对抗菌药物滥用对儿童健康的潜在危害,本研究旨在开发科学有效的问卷,评估社区居民对儿童使用抗菌药物的知识、态度和行为(知信行),为制定健康教育策略提供依据。  方法  基于知信行理论,通过文献回顾和两轮德尔菲专家函询法构建初始问卷;采用便利抽样法,于2024年7—9月调查上海市青浦区398名儿童家长,进行项目分析、探索性因子分析(EFA)、验证性因子分析(CFA)和信效度检验,形成正式问卷。  结果  (1) 初始问卷:两轮专家咨询有效回收率均为100%,专家权威系数分别为0.75和0.79,第2轮肯德尔和谐系数为0.402(χ2=253.056,P<0.001),条目重要性评分为4.18~4.88分,变异系数均<25%。初始量表包含3个维度、31个条目。(2)条目筛选:删除13个条目,最终量表包含18个条目。EFA提取3个主要因子,各条目因子载荷系数为0.592~0.838,累计方差贡献率为60.439%。(3)信效度:总量表的Cronbach's α系数为0.882,各维度Cronbach's α系数为0.762~0.903;CFA显示,χ2/df=2.78,RMSEA=0.091,NNFI=0.865,CFI=0.884,IFI=0.885,模型拟合基本良好。最终问卷包含3个维度、18个条目。  结论  本研究编制的问卷具有良好的信效度,能有效评估家长在儿童抗菌药物使用方面的知信行水平。
基于“全科-专科”分级诊疗构建心脑协防共管的房颤社区管理模式及现状研究
戴慧敏, 卜军, 姜萌, 唐岚, 朱敏, 张胜冰, 应小盈
2025, 23(10): 1726-1730. doi: 10.16766/j.cnki.issn.1674-4152.004215
1 0
摘要:
  目的  随着人口老龄化的日趋严重和分级诊疗政策的不断推进,为有效提升社区心房颤动(简称房颤)-脑卒中高危老年人群的管理能力,预防脑卒中发生,旨在探索“全科-专科”心脑协防共管的房颤社区综合管理模式。  方法  上海市潍坊社区卫生服务中心与上海交通大学附属仁济医院基于上海市“1+1+1”签约分级诊疗模式,联合建立了“全科-专科”心脑协防共管的房颤社区综合管理模式。该模式依托设立在社区的“仁济-潍坊”心房颤动-心源性脑卒中专病工作室,通过信息化手段首先建立房颤患者电子健康档案,其次制定房颤的分级诊疗标准和转诊流程,最后实现药品和实验室检查的同质化,从而构建一级预防(预防疾病)-优质全专诊疗(同质化诊疗)-二级预防(慢病管理)-心脏和脑病康复(高质量生活)的全生命周期健康管理体系。  结果  初步实施情况:专病门诊共管理房颤患者27例,房颤患者的抗凝率为59.25%,远高于前期调研的抗凝基线率(28.10%)。  结论  通过“全科-专科”心脑协防共管,一方面实现了优质医疗资源适当下沉,提升全科医生诊疗能力,简洁高效识别疾病严重程度;另一方面,设立专职助理员规范患者抗凝监测和连续性管理,提升患者自我管理依从性,形成了急慢分治、上下联动的分级诊疗模式,并提升了社区房颤管理的整体效果。
健康促进与健康教育
重度抑郁症患者治疗依从性发展轨迹及其影响因素分析
潘建波, 叶猛飞, 李雅红
2025, 23(10): 1731-1734. doi: 10.16766/j.cnki.issn.1674-4152.004216
0 0
摘要:
  目的  重度抑郁症(major depressive disorder, MDD)患者治疗依从性会影响治疗效果及转归。为明确MDD患者治疗依从性发展趋势及其影响因素,本研究纳入MDD患者,运用组基轨迹模型(group-based trajectory model,GBTM)分析其发展轨迹,并探究相关影响因素,以期为提升患者治疗依从性、优化临床干预策略提供科学依据。  方法  采取便利抽样法,纳入2021年5月—2022年7月绍兴市第七人民医院收治的96例MDD患者作为研究对象。收集患者一般资料,采用Morisky服药依从性量表-8(Morisky medication adherence scale, MMAS-8)评估MDD患者不同时间段的治疗依从性,采用GBTM分析MDD患者治疗依从性的发展轨迹,采用多分类logistic回归分析其影响因素。  结果  随访6周后,统计有效问卷92份,有效回收率为95.83%(92/96)。通过GBTM拟合出最佳治疗依从性轨迹类型模型(BIC=-4 925.8),分为持续下降组(32例)、相对稳定组(41例)和持续高水平组(19例)。3组患者文化水平、服药时间、家庭人均月收入和医患关系比较,差异均有统计学意义(P < 0.05)。以持续下降组为参照,多分类logistic回归分析显示,文化水平、服药时间、家庭人均月收入和医患关系均为MDD患者治疗依从性轨迹类别的影响因素(P < 0.05)。  结论  MDD患者治疗依从性的发展轨迹具有异质性,MDD患者治疗依从性发展轨迹与文化水平、服药时间、家庭人均月收入及医患关系相关。
健康信念模式干预对单纯性肥胖儿童青少年BMI及健康行为的影响
史东文, 陈凤兰, 吕霞, 王芳, 何岱昆
2025, 23(10): 1735-1738. doi: 10.16766/j.cnki.issn.1674-4152.004217
1 0
摘要:
  目的  探讨基于健康信念模式(HBM)的健康教育对单纯性肥胖儿童青少年肥胖相关知识认知、健康行为及BMI的影响,为该群体身心健康发展提供参考。  方法  采用方便抽样法从上海市金山区2022年学生体检数据库中筛选240名单纯性肥胖儿童青少年,采用分层随机分为干预组和对照组。对照组采用常规健康教育,干预组在常规健康教育基础上实施HBM干预,为期1年。比较2组干预前后肥胖知识知晓率、BMI及健康行为变化,采用logistic回归分析行为因素对BMI的影响。  结果  最终240人完成随访,其中干预组共90人,对照组共150人。干预1年后,干预组知识知晓率(62.22%)高于对照组(43.33%,χ2=8.028,P<0.05);干预组学生身高、BMI指标较对照组差异均有统计学意义(P<0.05);干预组中,体力活动、睡眠时长、视屏时间、汽水饮料摄入、甜点摄入、油炸食品摄入、水果摄入、蔬菜摄入、西式快餐摄入及路边摊摄入等健康行为指标对BMI的影响差异均有统计学意义(P<0.05)。增加体力活动(OR=0.041,95% CI: 0.005~0.346)、增加水果摄入(OR=0.158,95% CI: 0.026~0.964)、增加蔬菜摄入(OR=0.052,95% CI: 0.011~0.256)、减少西式快餐摄入(OR=0.175,95% CI: 0.036~0.851)是BMI改善的独立保护因素。  结论  基于HBM的健康教育可显著提高单纯性肥胖儿童青少年的健康认知,促进行为改变,助力科学减重及儿童青少年身心健康发展。
老年住院患者衰弱与健康促进行为的相关性
金燕萍, 王静茹, 杨守钦, 崔亮, 孙林芳
2025, 23(10): 1739-1742. doi: 10.16766/j.cnki.issn.1674-4152.004218
2 0
摘要:
  目的  分析老年住院患者衰弱状况及其与健康促进行为的相关性,并探讨患者衰弱的影响因素,为临床老年衰弱的防治提供理论参考。  方法  选取2022年1月—2023年12月上海交通大学医学院附属第六人民医院收治的246例老年住院患者为研究对象,收集基础资料、FRAIL衰弱量表及健康促进生活方式量表(HPLP-Ⅱ)得分,应用SPSS 26.0统计学软件进行分析。  结果  246例老年住院患者中,FRAIL得分为(1.72±0.35)分,衰弱发生率为30.49%(75/246);HPLP-Ⅱ得分为(130.17±24.69)分,得分最高、最低维度分别为营养、体育运动。Logistic回归分析显示,学历(OR=0.536,P=0.003)、居住情况(OR=8.989,P=0.004)、用药种类(OR=3.174,P=0.013)、营养不良(OR=5.995,P=0.004)、体育锻炼时间(OR=0.387,P=0.010)、健康促进行为(OR=3.575,P=0.002)均为老年住院患者衰弱的影响因素。Spearman相关性分析显示,老年住院患者FRAIL得分与HPLP-Ⅱ总分呈负相关关系(r=-0.481,P<0.05)。  结论  老年住院患者衰弱与健康促进行为呈负相关关系,临床需尽早进行综合干预,提升患者的健康促进行为,改善衰弱状况。
诊断技术研究
基于临床及CT征象的列线图术前预测肺腺癌组织学分级的价值
叶媛鑫, 刘璐璐, 潘婷, 江海涛
2025, 23(10): 1743-1747. doi: 10.16766/j.cnki.issn.1674-4152.004219
2 0
摘要:
  目的  探索CT影像学特征和临床信息与肺浸润性非黏液腺癌病理组织学分级之间的关系,构建预测组织学分级的模型,并进行模型可视化。  方法  收集2021年7—12月浙江省肿瘤医院收治的肺浸润性非黏液腺癌患者313例,按照组织学分级分为中低级别组和高级别组。收集患者临床资料及CT影像学资料,进行统计学分析,分别建立影像学模型和联合模型,绘制列线图和ROC曲线计算AUC,并使用DeLong检验进行比较。  结果  多因素分析显示,CT影像学的长径、实性成分长径、实性比例、空气支气管征均为组织学分级的影响因素(P<0.05),建立影像学模型,AUC为0.879;纳入临床资料及CT影像学征象进行多因素分析,结果显示,吸烟、神经元特异性烯醇化酶(NSE)、长径、实性成分长径、实性比例、空气支气管征均为组织学分级的影响因素(P<0.05),建立联合模型,AUC为0.899。DeLong检验显示影像模型和联合模型AUC差异无统计学意义(P=0.070)。  结论  CT及血清肿瘤学指标对鉴别肺浸润性非黏液腺癌的中低级别和高级别具有一定的预测价值,有望在术前预测浸润性腺癌的组织学分级。
超声动脉血流参数联合血清ACA、AMH检测对先兆流产保胎结局的预测作用
关艳丽, 张丽, 裴丽娟, 张梅
2025, 23(10): 1748-1752. doi: 10.16766/j.cnki.issn.1674-4152.004220
1 0
摘要:
  目的  先兆流产(TA)经治疗后仍可能出现保胎失败,本研究旨在分析超声动脉血流参数联合血清抗心磷脂抗体(ACA)、抗苗勒管激素(AMH)检测对保胎结局的预测作用,以提高TA保胎成功率。  方法  选取2021年5月—2023年5月黄河三门峡医院及南阳市中心医院收治的135例TA患者,根据保胎结局将其分为保胎成功组(83例)及保胎失败组(52例)。患者均行超声动脉血流参数及血清ACA、AMH检测,采用logistic回归模型分析保胎结局的影响因素,ROC曲线分析超声动脉血流参数和血清ACA、AMH对保胎结局的预测价值。  结果  与保胎成功组比较,保胎失败组舒张末期流速(D)、AMH水平降低,收缩期峰值流速(S)/D、搏动指数(PI)、阻力指数(RI)、ACA水平及自然流产史、阴道出血量≥50 mL占比升高(P < 0.05);Logistic回归分析结果显示,阴道出血量≥50 mL、S/D、PI、RI及ACA高水平均为TA保胎失败的独立危险因素(P < 0.05,OR>1),AMH高水平为保护因素(P < 0.05,OR < 1);ROC分析结果显示,S/D、PI、RI、ACA及AMH单独及联合预测保胎结局的AUC分别为0.724、0.676、0.752、0.755、0.692及0.880,五项联合预测效能高于各项单独检测。  结论  TA患者超声动脉血流参数异常,其中S/D、PI、RI、ACA高水平是TA保胎失败的危险因素,AMH高水平为TA保胎失败的保护因素,五项联合检测对于TA保胎结局具有较高的预测价值。
医学综述
肥胖对银屑病及银屑病关节炎发生发展和治疗的影响
李思颖, 王文社, 贾园
2025, 23(10): 1753-1756. doi: 10.16766/j.cnki.issn.1674-4152.004221
0 0
摘要:
银屑病(psoriasis,PsO)是一种常见的慢性皮肤炎症性疾病,皮肤损害包括斑块型、点滴状、反向型、脓疱型、红皮病型,部分患者可逐步发展成银屑病关节炎(psoriatic arthritis, PsA)。银屑病关节炎是一种以银屑病和肌肉骨骼病变为主要特征的慢性炎症性疾病,临床上可表现为外周关节炎、附着点炎、中轴脊柱炎、指(趾)炎、皮肤银屑病和甲银屑病等。银屑病关节炎患者发生肌肉骨骼外炎症和合并症的风险更高,如炎症性肠病、葡萄膜炎和抑郁、心血管疾病和代谢综合征,严重影响患者的生活质量。近些年的研究显示,随着人们生活方式及生活质量的改善,肥胖(obesity)人群在总人口中的占比越来越高。研究发现,在银屑病和银屑病关节炎患者中肥胖的发生率升高,且肥胖是银屑病及银屑病关节炎发生的危险因素。肥胖可使银屑病关节炎患者处于较高的疾病活动度,生活质量更差,且治疗后不易缓解。同时肥胖对部分银屑病关节炎治疗药物的疗效产生影响,如TNF-α抑制剂,而IL-17抑制剂和IL-12/23抑制剂受BMI的影响较小。本文将从肥胖对银屑病及银屑病关节炎发生和进展的影响,以及肥胖对药物疗效的影响等方面进行文献检索和总结,详细阐述肥胖在疾病发生、发展和病情活动中的作用,并将其对不同药物治疗效果的影响进行综述,以期深入了解此类慢性疾病的预防和管理,改善患者预后。
microRNA-200a/b/c/-429家族在卵巢癌中的研究进展
陈虹, 匡洪影, 周颖, 林文华, 林超, 陈琼华
2025, 23(10): 1757-1760. doi: 10.16766/j.cnki.issn.1674-4152.004222
0 0
摘要:
本文系统性探讨miR-200家族在肿瘤中的作用机制,特别聚焦于miR-200a/b/c/-429家族的功能及其在肿瘤发生与发展中的重要作用。作为一组关键的调控分子,miR-200家族在肿瘤生物学领域中具有重要地位。这些家族成员通过调节肿瘤细胞的生物学行为,有效影响肿瘤细胞的增殖、转移、侵袭以及化疗耐药等过程,进而参与肿瘤发生和进展等多个环节,特别是miR-200家族在上皮细胞向间质细胞转化中发挥重要作用,此外,该家族还通过调节细胞增殖与凋亡通路,进一步影响肿瘤细胞的生存与死亡,从而促进肿瘤细胞的扩散。miR-200家族不仅在肿瘤细胞侵袭和转移中发挥着重要作用,还可能作为卵巢癌的潜在诊断和预后判断标志物。未来研究应着重于阐明miR-200家族的具体分子机制和作用网络,探索其在其他肿瘤类型中的功能,并探讨如何将这些发现转化为临床应用,以期为肿瘤的早期诊断和靶向治疗提供新的思路和策略。深入研究miR-200家族在肿瘤中的作用机制,有助于理解肿瘤生物学特性,并促进创新治疗策略的发展,从而提高患者生存率,具有重要的科学与临床价值。
预防/保健 中医/康复
基于时机理论的多学科合作肺康复方案对重症肺炎机械通气患者的疗效观察
王世强, 刘文兵, 张玉娜, 袁凤, 金鑫来
2025, 23(10): 1761-1763. doi: 10.16766/j.cnki.issn.1674-4152.004223
0 0
摘要:
  目的  探讨基于时机理论的多学科肺康复方案对重症肺炎机械通气患者的治疗效果,为重症肺炎机械通气患者的肺康复治疗提供依据。  方法  选取2024年3—12月杭州市中医院呼吸重症监护室和浙江中医药大学附属第三医院收治的60例重症肺炎患者,使用随机数字表法分为对照组(实施常规护理)及治疗组(实施基于时机理论的多学科肺康复方案),每组各30例。比较2组患者疗效指标[ICU入住时间、机械通气时长、急性生理与慢性健康(APACHE-Ⅱ)评分],血气指标[动脉血二氧化碳分压(PaCO2)、动脉血氧分压(PaO2)、血氧饱和度(SaO2)、氧合指数],生活质量及不良事件发生情况。  结果  干预后,治疗组ICU入住时间[(7.48±1.37)d vs. (9.65±1.45)d]、机械通气时长[(6.26±1.08)d vs. (8.41±1.61)d]及APACHE-Ⅱ评分[(9.14±1.75)分vs. (12.71±2.54)分]均小于对照组(P<0.001);治疗组PaCO2[(29.35±4.53)mmHg vs. (37.18±4.92)mmHg,1 mmHg=0.133 kPa]、PaO2[(84.69±7.45)mmHg vs. (77.84±7.19)mmHg]、氧和指数[(405.94±40.58)mmHg vs. (319.02±34.72)mmHg]等血气指标均优于对照组(P<0.05)。治疗组生活质量各项评分均高于对照组(P<0.05)。2组患者治疗期间均无明显不良事件发生。  结论  基于时机理论的多学科肺康复方案安全有效,可为重症肺炎机械通气患者肺康复提供新策略。
补肾活血汤联合单侧双通道脊柱内镜治疗肾虚血瘀型腰椎管狭窄症的临床研究
鄂远, 黄盛昌, 芮立宁
2025, 23(10): 1764-1767. doi: 10.16766/j.cnki.issn.1674-4152.004224
1 0
摘要:
  目的  观察补肾活血汤联合单侧双通道脊柱内镜(UBE)对肾虚血瘀型腰椎管狭窄症(LSS)患者的恢复情况、机体炎症、术后并发症的影响,探究中西医联合治疗对肾虚血瘀型LSS患者的疗效及作用机制。  方法  选取2023年6月—2024年4月常州市武进中医医院符合纳排标准的120例肾虚血瘀型LSS患者,按随机数字表法分为治疗组(给予补肾活血汤联合UBE治疗)和对照组(UBE治疗)。比较2组视觉疼痛模拟评分法(VAS)评分、Oswestry功能障碍指数(ODI)评分、血清干扰素γ(IFN-γ)/白细胞介素-1α(IL-1α)等指标。  结果  治疗总有效率比较,观察组高于对照组[86.67%(52/60) vs. 71.67%(43/60),χ2=4.093, P=0.043]。术后2周、术后1个月,观察组的VAS评分低于对照组(P<0.05)。术后1、6个月ODI评分比较,观察组低于对照组(P<0.05)。治疗后,观察组外周血血清IFN-γ、IL-1α均低于对照组(P<0.05)。观察组术后并发症总发生率低于对照组[6.67%(4/60) vs. 23.33%(14/60),χ2=6.536,P=0.011]。  结论  补肾活血汤联合UBE可显著提高肾虚血瘀型LSS治疗效果,降低肾虚血瘀型LSS患者术后VAS、ODI评分,降低血清IFN-γ、IL-1α浓度,且可降低术后并发症发生风险。
全科医学教育研究
全程一体化培训模式在血液内科住院医师规范化培训中的应用
董红娟, 徐莉, 唐海龙, 梁蓉, 黄亚渝, 王艺, 胡菁梦, 张璐, 梁储君, 高广勋
2025, 23(10): 1768-1772. doi: 10.16766/j.cnki.issn.1674-4152.004225
1 0
摘要:
  目的  探讨全程一体化培训模式在血液内科住院医师规范化培训中的应用效果,以提升培训质量及住培医师的知识掌握力与岗位胜任力。  方法  选取2022年9月—2024年7月在血液内科接受培训的空军军医大学第一附属医院内科专业住培医师102名,按照进入血液科培训的不同时间分为A、B两组。A组为2022年9月—2023年7月入血液科的住培医师,B组为2023年9月—2024年7月入科的住培医师。A组56名住培医师采用传统培训模式进行培训,B组46名住培医师采用新的全程一体化培训模式进行培训。2组住培医师分别经过2个月的培训后,全部参加血液内科出科考核(含理论考核和临床胜任力考核)及国家住院医师规范化培训结业考核。  结果  (1) 2个月培训结束后,住培医师参加出科考核,2组医师理论成绩合格率均为100%,但B组理论成绩优秀率(80.4%,37/46)及临床胜任力考核优秀率(89.1%,41/46)均高于A组[58.9%(33/56)、62.5%(35/56)],差异有统计学意义(P<0.05)。(2)各组住培医师参加当年5月份由国家举办的的住院医师规范化培训结业考核,B组合格率(100.0%, 46/46)显著高于A组合格率(83.9%, 47/56),差异有统计学意义(χ2=6.234, P=0.013)。  结论  相较于传统培训模式,全程一体化培训模式有助于提高住院医师规范化培训的质量,培养兼具扎实的基础知识与较高的临床胜任力的医师。
BOPPPS结合CBL教学法在内科学消化系统教学改革中的应用实践
刘爱群, 郭晓云, 唐曦平, 沈妍华, 韦丽宁, 钟毅, 黄月丽, 谢为舜, 钟大妮
2025, 23(10): 1773-1776. doi: 10.16766/j.cnki.issn.1674-4152.004226
1 0
摘要:
  目的  BOPPPS以学生为核心,注重课堂中学生的全面参与,在教学过程中应用CBL等多种手段与教学结合,教师能及时根据课堂反馈,调整教学实施,有望更好地预设教学效果。本研究探讨了BOPPPS结合CBL混合教学模式在内科学消化系统-上消化道出血部分教学中的实践应用效果,为今后更多的临床课程的教学改革提供参考。  方法  选取广西医科大学附属肿瘤医学院2020级临床医学专业的学生共229人作为研究对象,采用计算机软件生成随机数对班级进行随机分组,分为实验A组(BOPPPS结合CBL混合教学, 113人)和对照B组(传统模式教学, 116人),课程结束后通过问卷星调查、教学评价和综合考核的方式进行比较。  结果  实验组对课程整体的总满意度、对课程内容的总满意度和对授课方式的总满意度明显高于对照组,差异有统计学意义(均P<0.05)。实验组期末考试成绩[(81.53±5.16)分]明显高于对照组[(79.28±9.96)分],差异有统计学意义(t=2.137, P<0.05)。  结论  消化系统教学中采用BOPPPS结合CBL的线上线下混合式教学,促进了学生主动参与课题教学,从而提升了教学的效果,值得在内科学临床教学中进一步推广应用。
医学综合研究
阿尔茨海默病主要照顾者连带病耻感现状及影响因素分析
谢祥青, 郭起浩
2025, 23(10): 1777-1780. doi: 10.16766/j.cnki.issn.1674-4152.004227
1 0
摘要:
  目的  探讨阿尔茨海默病(AD)主要照顾者的连带病耻感(AS)现状及影响因素。  方法  便利抽样选取2022年1月—2024年3月上海市第六人民医院AD患者及其主要照顾者177例,采用一般资料表、简易精神状态检查量表(MMSE)、蒙特利尔认知评估量表(MoCA)、连带病耻感量表(ASS)、自我效能感量表(SES)、简单应对方式问卷(SCSQ)等进行调查,研究主要照顾者AS现状。运用线性回归分析AD主要照顾者AS影响因素。  结果  AD主要照顾者AS总分(30.34±8.06)分;AS与自我效能感呈负相关关系、与简单应对方式无相关性(r=-0.254、-0.030, P<0.05、P>0.05),经相关性分析显示,ASS与SES线性相关(P<0.05)。AD患者痴呆程度以及主要照顾者与患者共处时间、对患者的病情了解、每月经济收入、民族是AD主要照顾者AS的可疑影响因素(P<0.05)。线性回归显示,AD患者痴呆程度(β=2.015, P=0.014)、照顾者与患者共处时间(β=2.779, P=0.023)、自我效能感(β=-0.231, P=0.009)是AD主要照顾者AS的影响因素(P<0.05)。  结论  AD患者主要照顾者存在AS,AD患者痴呆程度、照顾者与患者共处时间、自我效能感为照顾者AS影响因素,应给予AD主要照顾者社会支持,强化心理疏导,提高主要照顾者心理韧性。
中医药调节肿瘤微环境研究文献的可视化分析
董慧静, 郑玉敏, 李嘉, 鲁星妤, 崔慧娟
2025, 23(10): 1781-1785. doi: 10.16766/j.cnki.issn.1674-4152.004228
2 0
摘要:
  目的  肿瘤微环境是肿瘤领域的重点问题。本研究通过可视化方法系统分析中医药调节肿瘤微环境的研究现状和热点,旨在揭示其主要机制和临床应用。  方法  在中国知识资源总库(CNKI)、中国学术期刊数据库(万方数据)、中文科技期刊数据库(VIP)、中国生物医学文献数据库(CBM)、Web of Science(WOS)分别进行文献检索,时间设置为建库至2024年3月22日。应用NoteExpress进行文献筛选,使用GraphPad Prism绘制每年发文量计量分析图;采用VOSviewer对作者、关键词进行分析,绘制作者共现网络、关键词时间网络;利用CiteSpace进行关键词聚类分析。  结果  最终纳入690篇文献。首篇研究自2005年出现,2018年后发文量呈现快速上升趋势。发文量较多的期刊有《中华中医药杂志》《中医杂志》《中国实验方剂学杂志》《Journal of Ethnopharmacology》《Fronyiers in Pharmacology》等。中文文章共涉及作者1 766人。英文文章共涉及作者1 443人。得到中文关键词聚类9个、英文关键词聚类11个,主要包括作用机制和临床应用领域。  结论  通过可视化分析,研究发现中医药通过影响肿瘤血管生成、炎症、外泌体、细胞自噬与凋亡、巨噬细胞极化等机制调控肿瘤微环境,目前广泛应用于乳腺癌、肺癌、肝癌、结直肠癌、胃癌等癌种。
人工智能在全科临床诊疗与医患沟通及全科住培教学中的应用前景
金昊晗, 翟文清, 金沈樱, 姜隽, 马亚军
2025, 23(10): 1786-1789. doi: 10.16766/j.cnki.issn.1674-4152.004229
0 0
摘要:
  目的  本研究旨在评估人工智能(AI)在全科医学领域的应用前景,探索AI作为应对全科患者常见问题的实用工具和临床教学工具的潜力。  方法  选取20个全科常见问题,由AI[ChatGPT(GPT)和DeepSeek(DS)]及全科医师(一年级住培生Y1,三年级住培生Y3,带教老师)回答。从准确性、全面性、详细性、人文关怀及连续性管理5个维度评分,采用单因素方差分析和Tukey HSD检验进行统计分析。  结果  在准确性、全面性、详细性维度,GPT与DS的评分显著高于Y1、Y3及带教老师。在人文关怀方面,AI评分GPT[(3.16±0.42)分]、DS[(3.23±0.09)分]高于Y1[(2.33±0.45)分],与Y3[(3.76±0.27)分]相近,但显著低于带教老师[(4.26±0.27)分]。连续性管理方面的评分与人文关怀结果类似。  结论  AI在回答标准化全科问题时具备准确性高、信息全面翔实的优势,展现巨大的应用潜力,可用作基础工具及住培生知识辅助。但在人文关怀和连续性管理等需经验判断的领域表现弱于资深医生。未来需针对性提升AI在复杂情境中的表现,其在教学中应定位为知识巩固工具,医患沟通与人文关怀实践仍需带教指导。
全科护理研究
基于King达标理论的集中护理管理模式对无创持续气道正压通气患儿的影响
霍培卿, 魏文雅, 杜艳娜, 赵慧玲, 曹丽洁, 黄坤玲, 崔玉会
2025, 23(10): 1790-1794. doi: 10.16766/j.cnki.issn.1674-4152.004230
0 0
摘要:
  目的  通过科学、严谨的研究方法,探讨基于King达标理论的集中护理管理模式在无创持续气道正压通气(NIVCPAP)患儿中的应用效果,为提升临床护理质量和患儿治疗效果提供有力支持。  方法  选择2021年3月—2022年12月在河北省儿童医院儿科住院使用NIVCPAP的105例患儿为研究对象,采用随机数字表法将患儿分为对照组(53例)及观察组(52例),对照组进行常规干预,观察组进行基于King达标理论的集中护理管理模式干预,记录2种干预方式对患儿血气指标、肺功能、并发症的影响,记录家属满意度。  结果  观察组体温恢复时间、给氧时间、用机时间、住院天数均显著短于对照组(P<0.05);干预后与对照组比较,观察组血氧饱和度(SaO2)、动脉血氧饱和度(PaO2)、pH值、用力肺活量、一秒用力呼气容积更高,二氧化碳分压(PaCO2)更低(P<0.05);观察组患儿误吸、鼻腔发红、导管处压伤发生率均显著低于对照组(1.89%、3.77%、0 vs. 23.08%、23.08%、11.54%,P<0.05);观察组家属对护理态度、护理技术、护理方式、护理环境、沟通/交流、护理服务满意度均显著高于对照组(P<0.05)。  结论  基于King达标理论的集中护理管理模式能够更有效地促进患儿的康复,改善肺功能,减少并发症的发生,并提高家属的满意度,为NIVCPAP患儿的护理管理提供了新的有效策略。
安徽省护理人员建言行为潜在剖面分析
李楠楠, 宋瑰琦, 张小红, 张国文, 程圣莉, 姚红, 刘媛
2025, 23(10): 1795-1799. doi: 10.16766/j.cnki.issn.1674-4152.004231
1 0
摘要:
  目的  探讨安徽省护理人员(护士)建言行为的潜在类别并分析其影响因素,为制定干预策略提供参考。  方法  采用一般资料问卷、护士建言行为量表、心理资本量表、真实型领导量表。在2022年1—2月对安徽省37所医院3 000名护士进行横断面问卷调查,采用潜在剖面分析和无序多分类logistic回归探究护士建言行为潜在类别并分析其影响因素。  结果  3 000名护理人员建言行为可分为3个潜在类别:沉默型-低水平建言行为组(17.4%),保守型-中等水平建言行为组(40.5%),积极型-高水平建言行为组(42.1%)。相对沉默型-低水平建言行为组职称越高的护理人员倾向于积极型-高水平建言行为组概率更大(OR=-0.149, P<0.05)。心理资本和真实型领导得分越高的护士归属于积极型-高水平建言行为组概率更大(OR=0.839, P<0.001,OR=0.845, P<0.001)。回归分析显示:职称、聘用方式、年龄、真实型领导水平及心理资本是护理人员建言行为潜在类别的影响因素(P<0.05)。  结论  3 000名临床护理人员建言行为分类特征明显,57.9%的护理人员在建议表达方面的表现处于中低水平。护理管理者应当依据其群体的不同特征,并结合影响因素,实施有针对性的干预措施,提高护理人员建言水平。
老年腹腔镜手术患者术中低体温发生与手术室护士专业认知及护理行为的相关性研究
王毅, 王少微, 袁莉, 武亮
2025, 23(10): 1800-1803. doi: 10.16766/j.cnki.issn.1674-4152.004232
0 0
摘要:
  目的  分析老年腹腔镜手术患者术中低体温发生与手术室护士专业认知及护理行为的相关性。  方法  回顾性分析2023年1月—2024年1月河北北方学院附属第一医院收治进行腹腔镜手术老年患者的临床资料,选取80名手术室护士为研究对象,通过行一般调查表、术中低体温专业认知现状量表、低体温护理行为量表、职业倦怠(修订Maslach倦怠量表)及安全文化态度问卷,采用logistic回归分析影响术中低体温发生的因素。  结果  术中低体温发生率为7.87%(70/890);参与低体温老年患者的腹腔镜手术的护士有32例,纳入低体温组,其余纳入无低体温组。低体温组专业认知[(74.54±5.51)分]、护理行为[(30.78±2.64)分]、职业倦怠中的情感疲惫[(21.54±0.80)分]和成就感降低[(20.04±0.79)分]、安全文化态度[(93.80±4.02)分]得分均明显低于无低体温组[(96.38±4.53)分,P<0.05];逐步logistic回归分析显示,护士专业认知低、护理行为不良、情感疲惫、成就感降低、安全文化态度差均是老年腹腔镜手术患者术中发生低体温的危险因素(P < 0.05);Pearson相关分析显示,手术室护士护理行为与专业认知、安全文化态度有相关性(r=0.446、0.351,P<0.05)。  结论  手术室护士专业认知、护理行为、职业倦怠和安全文化态度是老年腹腔镜手术患者术中低体温发生的相关因素,应当给予手术室护士专业培训,提升其认知、行为水平。
围产期营养-代谢联合循证护理模式在妊娠期糖尿病患者中的应用研究
张莹, 顾雷君, 陶张挺
2025, 23(10): 1804-1807. doi: 10.16766/j.cnki.issn.1674-4152.004233
1 0
摘要:
  目的  妊娠期糖尿病可导致母婴不良结局,单一护理模式对妊娠结局的改善效果有限。本研究旨在构建并验证基于循证护理的营养-代谢护理模式在围产期糖尿病患者中的应用效果。  方法  选取2024年2月—2025年1月舟山市妇女儿童医院收治的妊娠28~35周孕妇,诊断为妊娠期糖尿病的围产期患者100例为研究对象。使用随机数表法将患者分为对照组(50例)和研究组(50例),对照组接受常规护理,研究组在对照组的基础上实施围产期营养-代谢联合循证护理模式。比较2组患者的血脂水平、血糖水平,孕期体重增长情况、自然分娩率、住院时间、产后72 h纯母乳喂养率,妊娠期及产后合并症、并发症发生率,新生儿不良结局发生率。  结果  干预后,研究组患者的HDL、LDL、TG、TC水平均显著低于对照组(P<0.05),且数值在正常范围内;研究组患者的FBG和2hPG均显著低于对照组(P<0.05);研究组患者的体重增长低于对照组(P<0.05)。研究组患者的自然分娩率和产后72 h纯母乳喂养率分别为76.0%(38/50)和92.0%(46/50),均优于对照组[58.0%(29/50)和76.0%(38/50),P<0.05]。研究组患者住院时间短于对照组[(6.22±1.68)d vs. (7.02±2.17)d,P<0.05)];研究组患者的不良妊娠结局发生率和新生儿不良结局发生率均低于对照组(P<0.05)。  结论  围产期营养-代谢联合循证护理模式能够改善围产期糖尿病患者的血脂和血糖水平,控制体重增长,降低不良妊娠结局发生率。
5A模式结合知信行理论在Miles术后结肠造口并发感染患者中的应用效果
胡瑜, 封义兵, 周小莉, 孙景毅
2025, 23(10): 1808-1812. doi: 10.16766/j.cnki.issn.1674-4152.004234
1 0
摘要:
  目的  本研究将5A模式结合知识-信念-行为理论(KAP)护理方案应用于Miles术后结肠造口并发感染患者,分析其提升患者自我护理能力及生活质量的效果,为优化结肠造口护理提供依据。  方法  选取2021年8月—2024年7月龙游县人民医院收治的Miles术后结肠造口并发感染146例患者作为研究对象。根据随机数字表法将其分为对照组(73例)和观察组(73例)。对照组应用常规护理,观察组应用5A模式结合知信行理论护理。比较2组患者干预前后血清降钙素原(PCT)、C-反应蛋白(CRP)水平、结肠造口压力、自我管理行为及生活质量情况。  结果  干预后,观察组PCT及CRP表达水平分别为(0.16±0.08)ng/mL、(7.14±1.86)μg/mL,均低于对照组[(0.23±0.10)ng/mL、(10.05±2.73)μg/mL,P<0.05];干预后,观察组患者结肠造口压力量表中身体状况改变所致压力、自我概念改变所致压力及结肠造口护理所致压力维度得分均低于对照组(P<0.05);干预后,观察组患者肠造口病人自我管理量表及造口患者生活质量量表得分分别为(107.64±10.42)分、(53.26±7.18)分,均高于对照组[(92.73±10.15)分、(47.49±6.23)分,F=7.467、4.942,P<0.001]。  结论  5A模式结合知信行理论能在常规治疗基础上有效改善Miles术后结肠造口患者感染情况,有利于降低患者结肠造口压力,提高患者造口管理能力及生活质量。